К 8 Разделу || К содержанию || К Литературе
Основной частью стрелкового оружия является ствол. Ствол позволяет использовать энергию порохового заряда, сгорающего в зарядной каморе, чтобы сообщить пуле поступательное и вращательное движения, разогнать ее с нужной скоростью и выбросить ее в нужном направлении.
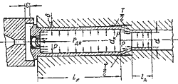
Ствол представляет собой трубу, внутренняя полость которой называется каналом ствола. Канал ствола (схема 130) по своему устройству делится на следующие части: патронник, соединительный конус (пулъный вход) и нарезная часть. Каналы стволов в образцах по устройству примерно одинаковы и различаются лишь очертанием патронника, числом и формой нарезов.

Схема 130. Устройство канала ствола
Патронник служит для помещения патрона. Формы и размеры патронника определяются формой и размерами гильзы. Между стенками гильзы и стенками патронника делают зазор от 0,05 до 0,12 см. Зазор обеспечивает свободное вкладывание патрона даже при наличии в патроннике пыли или слоя смазки. Зазор необходим, ибо, если нет зазора, нет и движения. Но слишком большая величина зазора может привести к раздутию или продольному разрыву гильзы.
В некоторых образцах оружия, у которых экстракция гильзы происходит при наличии давления пороховых газов в канале ствола, в целях облегчения экстракции делают продольные канавки в патроннике и пульном входе. На схеме 131 изображены канавки в патроннике и пульном входе пулемета ШКАС. Во время выстрела пороховые газы проникают в продольные канавки и оказывают давление на наружную поверхность гильзы, благодаря чему она с меньшим усилием будет прижиматься к стенкам патронника. Такие канавки получили название "канавки Ревелли" по фамилии итальянского оружейника, который их изобрел.

Схема 131. Патронник пулемета ШКАС
Пульный вход служит для обеспечения постепенного врезания пули в нарезы и для придания пуле правильного первоначального направления. Обычно пульный вход состоит из гладкой и нарезной частей. Гладкая часть имеет вид усеченного конуса. Нарезная часть пульного входа имеет поля с отлогим подъемом, постепенно увеличивающимся от нуля до нормальной величины, что обеспечивает врезание пули в нарезы. Эта нарезная часть не должна быть короткой, ибо в таком случае чрезмерной крутизной подъема полей нарезов может быть сорвана и разрушена оболочка пули. Она не должна быть и длинной - в таком случае пуля, получившая свободное ускорение в этой длине, испытывает сильную нагрузку при встрече с повышением полей нарезов, как с препятствием, и ее оболочка может быть также разрушена. Обычно нарезную часть пульного входа делают не менее 0,5 и не более 1,5 величины калибра, в зависимости от особенностей оружия и боеприпасов.
Нарезная часть ствола служит для придания пуле вращательного движения. Пуля, двигаясь по нарезам, вращается вокруг своей оси и, подобно гироволчку, летит головной частью постоянно вперед. Иначе длинная пуля, вылетев из ствола, начала бы беспорядочно кувыркаться в полете.
Нарезы представляют собой канавки, вьющиеся вдоль поверхности канала ствола. Каждый нарез-канавка имеет две грани и дно. Грань, которая ведет пулю при движении ее по каналу ствола и на которую давит оболочка пули, движущейся по каналу ствола, называется боевой (схема 132). Эта грань видна с казенной части канала со стороны патронника. Противоположная грань нареза называется холостой. На эту грань оболочка пули при движении по нарезам не давит. Холостая грань нареза хорошо просматривается с дульной части канала ствола. Промежутки, выступающие между канавками-нарезами, называются полями нарезов. Диаметр канала ствола по полям (диаметр сверления ствола) называется калибром ствола (схема 133).

Схема 132. Канал нарезного ствола со стороны патронника

Схема 133. Устройство нарезной части канала ствола (поперечный разрез):
а - ширина нареза; b - ширина поля; с - глубина нареза; d - калибр оружия; d1 - диаметр по нарезам.
Нарезы прямоугольной формы
Нарезы выполняются проходом специального метчика или продавливаются специальным инструментом - дорном. Дорнированные стволы вследствие уплотнения структуры металла прочнее и более живучи в эксплуатации, чем обработанные нарезанием. Но нарезанные стволы более чисты после обработки и дают лучшую кучность боя.
Направление нарезов встречается как правое (Россия, СССР, Германия, Америка), так и левое (Англия и Франция). Правое направление нарезов обусловлено тем, что давление пули на боевые грани нарезов вызывает реакцию кручения ствола в сторону, противоположную направлению вращения пули. Эти напряжения существенны, и они могут или закручивать (завинчивать) ствол в ствольную коробку, или вывинчивать его оттуда. Обычная технологическая резьба в большинстве стран мира правого вращения и, соответственно, ствол с правым направлением нарезов будет "вкручиваться" в ствольную коробку, а не "выкручиваться" из нее. Известно, что даже гайки рано или поздно сами откручиваются, а оружейные стволы при разных направлениях нарезов и резьбы посадки в ствольную коробку открутятся и подавно. Английские и французские стволы с левыми нарезами имеют соответственно левую резьбу соединения со ствольной коробкой. И хотя сейчас даже на спортивном высокоточном оружии стволы запрессованы в ствольные коробки с технологическим "натягом" (что, кстати, увеличивает прочность патронника) и законтрены шпильками (как в автомате АКМ), нарезы отечественных стволов традиционно остались правого вращения.
На качество боя оружия (энергию и кучность) направление вращения нарезов влияния не имеет. Но следует помнить, что при правом вращении нарезов отклонение пули на деривацию будет вправо, а при левом вращении - влево.
Для получения более прочных выступов на оболочке пули после ее врезания в нарезы (схема 134) и для удобства чистки оружия желательно ширину нарезов делать возможно большей.

Схема 134:
А - форма оболочки после врезания в нарезы;
Б - упрощенная форма оболочки после врезания в нарезы
Врезание оболочки пули будет тем легче, чем уже поля (выступающие части) нарезов. Однако при слишком узких полях ширина их может оказаться настолько малой, что они не будут удовлетворять пределам прочности и будут разрушаться. Практически берут ширину поля, равной примерно половине ширины нареза (см. схему 133). Например, для винтовок и карабинов Мосина ширина нареза 3,81 мм, ширина поля 2,17 мм.
От глубины нарезов зависит высота выступов на оболочке пули (схема 134). При мелких нарезах незначительный износ полей (выступов) может привести к срыву пуль с нарезов. Исходя из этого глубину нарезов делают возможно большей. Однако с увеличением глубины нарезов увеличивается усилие, необходимое для врезания пули в нарезы, что может вызвать разрыв оболочки или демонтаж (разрушение) пули. Кроме того, глубокие нарезы создают большие выступы на оболочке пули, которые будут увеличивать силу сопротивления воздуха в полете. Учитывая все эти соображения, глубину нарезов делают равной от 1/50 до 1/70 калибра оружия (1,5-2%). Для трехлинейных винтовок и карабинов глубина нарезов равна 0,12-0,15 мм.
Чем больше количество нарезов, тем кучнее бой ствола. В трехлинейных винтовках дореволюционного выпуска было три нареза, позже их увеличили до четырех. В оружии нормальных калибров их иногда делают 5-6, но не более, исходя из вышеописанных технических особенностей проектирования.
В практике стрелкового оружия в разное время и по разным причинам применялись различные профили нарезов: прямоугольный, трапецеидальный, сегментный, скругленный и даже комбинированный.
Прямоугольной называется такая форма нарезов, у которой грани одного и того же нареза параллельны (см. схему 133). В отечественных стволах приняты нарезы прямоугольной формы. Преимущества именно такой формы нарезов - в ее надежности, долговечности и экономичности в изготовлении и поэтому она наиболее применяема в оружейных системах (схема 135).

Схема 135:
А - нарезы 7,62-мм винтовки Спрингфильда обр. 1903 г.;
Б - нарезы 7,62-мм винтовки КА обр. 1891/1930 гг.
Трапецеидальная форма нарезов похожа на прямоугольную и отличается от нее тем, что смежные грани нарезов не параллельны друг другу. Такая форма нарезов продиктована стремлением сделать деформацию оболочки пули при врезании в нарезы менее резко "сдвинутой" (схема 136) и, соответственно, сохранить ее профиль и механическую прочность, увеличить глубину нарезов и повысить давление в стволе. Оружие с трапецеидальной формой нарезов сложнее и дороже в производстве, чем оружие с нарезами прямоугольной формы, но кучность боя таких стволов лучше. Снайперские винтовки с трапецеидальными нарезами производились и производятся в Австрии фирмой "Манлихер".

Схема 136. Нарезы трапецеидальной формы
Вышеописанные формы нарезов в принципе отвечают эксплуатационным требованиям, но остающиеся в углах нарезов (между дном нареза и гранью) твердые частицы оболочки пули и продуктов сгорания пороха могут вызвать появление коррозии, ибо чистка и смазка углов нарезов затруднена. К тому же углы нарезов неплотно заполняются массой пули, и в этих местах наблюдается прорыв пороховых газов. При этом несколько падает давление в стволе и раскаленные пороховые газы, истекающие по незаполненным местам с большой скоростью, разрушающе действуют на ствол.
Стараясь ликвидировать этот недостаток, на некоторых оружейных системах до сих пор применяются так называемые нарезы сегментной формы. Сегментной называется такая форма нарезов, у которой нарезы в сечении, перпендикулярном оси ствола, представляют фигуру сегмента (схема 137). Такие нарезы в начале XX столетия были приняты на очень неплохой винтовке точного боя японского оружейника Арисака (схема 138). При такой форме нарезов, не имеющей углов, пуля заполняет просвет канала ствола полностью. Но стволы с такими нарезами очень трудоемки и дороги в производстве, к тому же при отсутствии боевых граней, на которые обычно опирается пуля при движении, пуля действует на опорную часть сегмента, как на клин, вызывая увеличенную поперечную деформацию ствола и снижая его живучесть. Поэтому сегментарные нарезы широкого распространения не получили.

Схема 137. Нарезы сегментной формы

Схема 138. Нарезы 6,5-мм винтовки системы Арисака
Недостатки сегментарных нарезов устранены в стволах с нарезами скругленной формы (схема 139), где боевая грань имеет полукруглую форму. В таких нарезах нет углов, они ничем не забиваются, в них не наволакивается свинец. Стволы с такими нарезами очень легко чистить. Но они еще более дороги в производстве, чем сегментарные нарезы, и применяются на очень дорогих охотничьих системах.

Схема 139. Скругленная форма нарезов
В свое время для повышения живучести стволов в некоторых системах поля нарезов делали шире самих нарезов. Такие нарезы были на русской трехлинейной винтовке первых выпусков и на швейцарской винтовке системы "Шмидт-Рубина" (схема 140). С принятием на вооружение патронов с пулями более совершенной формы, в меньшей степени изнашивающей ствол, от такой геометрии нарезов отказались.

Схема 140. Нарезы 7,5-мм винтовки системы "Шмидт-Рубина" обр. 1889-1896 гг.
Если развернуть внутреннюю поверхность канала ствола вдоль оси с нанесенным на ней нарезом, то очертание нареза представится в виде линии, которая может быть прямой или кривой (схема 141).

Схема 141. Виды нарезов (развертка):
а - нарез постоянной крутизны; б - нарез прогрессивной крутизны; в - нарез смешанной крутизны
Нарез, получающийся при развертке в виде прямой линии, называется нарезом постоянной крутизны (а на схеме 141). Угол на схеме, характеризующий наклон или крутизну нарезов, называется углом наклона или крутизны нарезов.
Нарез, при развертке представляющийся в виде кривой линии с возрастающей крутизной от начала нарезов к дульной части, называется нарезом прогрессивной крутизны (б на схеме 141).
Преимущество нарезов постоянной крутизны состоит в простоте изготовления, недостаток - в неравномерности износа. При нарезах постоянной крутизны давление на боевую грань переменно и принимает исключительно большую величину в тот момент, когда давление пороховых газов в стволе наибольшее. В месте наибольшего давления происходит усиленный износ боевых граней нарезов.
При нарезах прогрессивной крутизны при наибольшем давлении угол наименьший, следовательно, давление на боевую грань тоже будет сравнительно небольшим. При падении давления, ближе к дульному срезу при возросшей крутизне нарезов их боевые грани будут испытывать гораздо меньшие разрушающие усилия при прохождении по ним пули.
Нарезы прогрессивной крутизны заметно улучшают кучность боя ствола, однако они не нашли широкого распространения в стрелковом оружии из-за сложности изготовления и применяются в артиллерийских системах. Такие нарезы выполняются на отдельных образцах особо точного снайперского оружия.
Длина участка канала ствола, на котором нарезы постоянной крутизны делают один полный оборот, называется шагом нарезов.
Зная длину шага нарезов и дульную скорость пули, можно подсчитать число оборотов пули вокруг ее оси в момент вылета из канала ствола по формуле:
Пример. Определить число оборотов пули винтовки Мосина образца 1891-1930 гг. Дульная скорость 860 м/с, длина шага нарезов 0,24 м.
Решение. 860/0,24 = 3583 оборота в секунду.
Кучность боя ствола увеличивается с уменьшением шага нарезов и увеличением оборотов пули. Но до разумных пределов - при слишком крутых нарезах пуля будет срываться с них, и при слишком больших оборотах ее может разорвать центробежной силой.
Пуля должна врезаться в нарезы и заполнить их полностью, до самых доньев и немного (очень немного) с излишком. Между поперечными размерами пули и канала ствола должно соблюдаться такое соотношение, при котором площадь поперечного сечения пули на 1-2% превышала бы площадь сечения ствола. Пуля, свободно, с люфтами идущая по стволу, начинает "болтаться" в нем от стенки до стенки, разбивает ствол и отклоняется от прицельного направления. Кучности боя такими пулями не будет. Каналы стволов выполняются очень тщательно, но все равно у стволов одного и того же образца оружия диаметры калибровочных сверлений и расстояния между доньями нарезов не будут одинаковы вследствие износа обрабатывающего инструмента. При стрельбе очередями это значения не имеет, но в снайперской стрельбе становится заметным. Поэтому под каждый ствол желательно подобрать патрон с пулей соответствующего диаметра. Пули винтовочных патронов всегда делаются по диаметру больше, чем номинальный калибр оружия, и даже немного больше расстояния между доньями нарезов (см. табл. 38). Каждый реальный диаметр конкретного канала ствола должен сопрягаться с конкретным диаметром пули. Поэтому при стрельбе какой-либо одной партией патронов кучность стрельбы даже из очень хорошего нового ствола может оказаться неудовлетворительной. Знающие снайперы заранее подбирают подходящие партии патронов по результатам кучности при пробных отстрелах.
Несмотря на то что вышеописанная система измерения калибра ствола "от поля до поля" нареза является международной, в западных странах все больше и больше практикуется измерение калибра "от дна до дна" нареза, что, на взгляд автора, при подборке точного снайперского оружия и боеприпасов более правильно, ибо позволяет сразу ориентироваться в реальных диаметрах ствола и подбирать к ним патроны с пулями соответствующего диаметра. К примеру, калибр американской винтовки М-16 равен 5,6 мм, но он определен по "доньям" нарезов. Калибр нашего автомата АК-74 равен 5,45 мм, но он принят по классическому образцу - по "полям" нарезов. В реальности внутренние калибры обоих образцов оружия одинаковы. Калибр пуль к ним равен 5,61-5,62 мм. Как это ни странно, в практике малокалиберного спортивного оружия изначально утвердилась неклассическая формулировка - по доньям нарезов. Реальный калибр свинцовой безоболочечной пули обычного спортивно-охотничьего малокалиберного патрона равен 5,62 мм, а калибр ствола по доньям нарезов равен 5,59-5,60 мм.
В наше время (очень редко) встречаются трехлинейные снайперские винтовки довоенного выпуска с изумительно кучным боем. У таких винтовок канал ствола выполнялся па так называемый "легкий конус" с разницей в диаметрах у казенной и дульной частей в 2-3%. При этом сводится на нет истирание оболочки пули о стенки канала ствола и пуля все время "обжимается", что не позволяет ей "гулять" по стволу.
Точность изготовления ствола и чистота обработки его канала оказывают на точность и кучность боя непосредственное и существенное влияние. Шероховатость, грубость обработки канала ствола, нарушение его соосности, неровности дна нарезов увеличивают рассеяние при стрельбе из винтовок до 20%.
Форма дульного среза ствола делается такой, чтобы предотвратить случайные повреждения (забоины) поверхности канала ствола в дульной части, нарушающие кучность боя оружия. Наиболее хорошо предохраняет канал ствола от повреждений дульная часть специальной формы с "бортами" (схема 142).

Схема 142. Формы дульного среза ствола
1 - закругленная; 2-е фасками; 3 - со сферической выемкой; 4 - с раззенковкой
Неперпендикулярность плоскости дульного среза к оси канала ствола на 1% при стрельбе из винтовки на дальность 100 м дает отклонение пули больше 10-ти см. При этом контрольный радиус круга, вмещающего лучшую половину пробоин, увеличивается на 10%.
Калибр винтовок, карабинов и пулеметов от 6,5 до 8 мм, установившийся в конце XIX века и доминирующий в современном оружии, называется нормальным калибром. Калибр меньше нормального (обычно 5,6 мм) называется малым. У многих возникает естественный вопрос, почему винтовочные калибры выбраны именно в таких пределах? Дело в том, что согласно законам физики чем меньше тело, двигающееся в газообразной среде, тем больше удельное сопротивление этой среды оно испытывает. Чем больше тело, тем меньше ему сопротивляется окружающая газообразная атмосфера. Это довольно сложный физический процесс. Пули малых калибров даже при огромной начальной скорости 1200-1300 м/с из-за большого удельного сопротивления очень быстро теряют скорость и не летят далее 2,5 км. После дистанции 400-500 м их траектории резко понижаются и пробивная способность падает. В то же время гаубичный 120-мм снаряд с начальной скоростью 550 м/с в состоянии пролететь 12 км и более. Да, при стрельбе на реальных дистанциях общевойскового боя 400 м при малых калибрах можно значительно улучшить настильность траектории при начальной скорости пули 900-950 м/с. При этом увеличивается дальность прямого выстрела до 450-470 м. Однако для снайперской и пулеметной стрельбы на дальние дистанции это не годится. При стрельбе на большие дальности легкая пуля с уменьшенным калибром теряет все преимущества. Кроме того, во все времена была целесообразность применения единого патрона для винтовок и пулеметов.
Пули нормального калибра при средних скоростях 750- 850 м/с летят довольно далеко. Увеличивать калибр более 8 мм уже нецелесообразно из-за увеличения веса оружия и носимого запаса патронов. Убойное действие пули нормального калибра сохраняется даже на ее излете. Траектория пули нормального калибра достаточно настильна и предсказуема для точной стрельбы на дистанциях до 1300 м, поэтому снайперские винтовки во всех странах мира и боеприпасы к ним изготавливаются под нормальный калибр.
Стволы малых калибров имеют более кучный бой, чем стволы калибров нормальных. Это объясняется тем, что бой оружия тем кучнее, чем больше его удельная длина в калибрах. Но по вышеизложенным причинам эффективность применения малых калибров в снайперской практике носит спорный характер.
Как показывает практика, стволы огнестрельного оружия приходят при стрельбе в колебательное движение (схема 143). Характер и размах колебания зависят от многих факторов: длины ствола, его поперечных размеров, наличия и места расположения сосредоточенных масс, условий крепления, массы и т. д. Колебания ствола при выстреле происходят преимущественно в вертикальной плоскости. С изменением длины ствола меняются условия колебаний и периодически изменяется рассеивание, проходя последовательно через максимум и минимум. На качество стрельбы это имеет очень большое влияние вследствие изгиба ствола на старых системах. Чтобы уменьшить колебания ствола, его прижимали к ложе ствольными накладками. Спортивное оружие делают с толстыми массивными стволами, это значительно уменьшает колебания стволов при стрельбе и заметно повышает кучность боя, но в качестве боевого оружия такие системы непригодны из-за "неподъемности" - они весят от б до 8 кг. В трехлинейных снайперских винтовках кучность боя заметно повышали очень прочным "глухим" креплением штыка. Штык, работая как противовес, почти вдвое уменьшает колебания ствола и на столько же улучшает кучность боя. Но только очень плотно "посаженный" на ствол и зажатый в креплении штык. Если он будет качаться на стволе, разброс от этого только увеличится. Следует учесть, что винтовку, пристрелянную ранее без штыка, при постановке штыка нужно заново пристреливать. Штык, расположенный справа, смещает центр тяжести оружия и, следовательно, изменяет его балансировку. Штык отклоняет центр тяжести вправо, тогда как сила отдачи действует в направлении оси канала ствола и смещает оружие влево при стрельбе. При этом средняя точка попадания отклонится влево. Опытами установлено, что при стрельбе со штыком на дистанции 100 м средняя точка попадания (СТП) отклоняется влево на 6-8 см и вниз на 8- 10 см. Это смещение СТП компенсируется приведением винтовки к нормальному бою заново и в обычном установленном порядке.

Схема 143. фазы колебания дульной части ствола
К винтовке СВД подходит штык автомата АКМ, но пристреливать ее со штыком не принято. Штык удлиняет и без того длинную СВД. Вместо этого для улучшения кучности боя на ствол СВД плотно прикрепляют противовес - стальной или свинцовый, весом от 0,5 до 2 кг - по желанию и темпераменту стрелка. Место прикрепления противовеса выбирается опытным путем, эмпирически. Противовес нежелательно зажимать на стволе винтами во избежание деформирования стенок ствола. Обычно противовес плотно приматывают к стволу матерчатой изолентой.
Колебания ствола при выстреле и причины, их порождающие, полностью не изучены, и в их природе до сих пор много необъяснимого. Считается (и математически доказано), что обеспечить вылет пули в одну и ту же фазу колебаний практически невозможно из-за неизбежного разброса времени движения пули по каналу ствола вследствие влияния различного рода причин (разброс максимального давления газов, веса пули, качества пороха и т. д.). Но как-то старичок оружейник, обстукав деревянной палочкой в общем-то неплохой ствол винтовки АВ калибра 7,62 мм и нанеся мелом вертикальную риску сантиметрах в пятнадцати от дульного среза, сказал автору: "Это мертвая точка, в которой колебаний ствола нет! Отрежьте кусок ствола по этой отметке, и вы не пожалеете!" Авторитет этого мастера был велик, и в том, что он сказал, никто не засомневался. После того как ствол укоротили до отметки, указанной мастером, кучность не просто резко улучшилась - она улучшилась фантастически. На дистанции 100 м разброс не выходил за габарит трехкопеечной монеты.
Разделим ствол на ряд участков и совместим его под графиком изменения давления внутри ствола при выстреле (схема 144). Над кривой давления расположим математически рассчитанную согласно сопротивлению материалов кривую упругого сопротивления ствола давлению внутри него. Мы получим картину сопротивления стенок ствола в различные периоды выстрела.

Схема 144. Кривая упругого сопротивления ствола винтовки образца 1891-1930 гг и кривая давления газов в стволе
Как видно из схемы 144, давление пороховых газов в канале ствола в сечениях аа и бб выше предельно допустимого. Снижение запаса прочности в этих сечениях сделано с целью получить конструктивно удобные размеры ствола, иначе пришлось бы значительно увеличить размеры ствола в указанных сечениях. Запомните: винтовочные стволы при использовании недоброкачественных старых боеприпасов неизвестного происхождения с детонирующим порохом чаще всего разрываются сразу же за патронником. По этой причине при отладке оружия нельзя производить сверление и крепежные работы (например, при постановке оптического прицела) вблизи патронника и узлов запирания.
Инженерно-расчетным путем (табл. 43) было установлено, что при давлении в канале ствола, равном 3/4 предельной упругости металла, даже сколь угодно большая толщина стенок не обеспечит ствол от появления остаточных деформаций на его внутренней поверхности. Опытным путем установлено, что увеличивать толщину стенок ствола, изготовленного из оружейной углеродистой стали, до величины, превышающей 1 1/2 калибра, нецелесообразно, так как дальнейшее увеличение толщины стенок лишь незначительно увеличивает прочность ствола и в то же время повышает его вес.
Таблица 43
Зависимость предела упругого сопротивления ствола от толщины стенок ствола
| Толщина стенок ствола в диаметрах канала | 0,1 | 0,25 | 0,50 | 0,75 | 1,0 | 1,25 | 1,50 | 1,70 | 2 | 00 |
| r2/r1 | 1,2 | 1,5 | 2 | 2,5 | 3,0 | 3,5 | 4,0 | 4,5 | 5,0 | 00 |
| Р/se | 0,17 | 0,34 | 0,50 | 0,58 | 0,63 | 0,66 | 0,68 | 0,69 | 0,70 | 0,75 |
Средством увеличения прочности ствола без его утяжеления является скрепление стенок ствола, сущность которого состоит в том, что ствол изготавливается многослойным, из нескольких труб, надеваемых одна на другую "с натягом". При этом происходит увеличение прочности (упругого сопротивления) ствола (трубы) за счет перераспределения напряжения внутри его стенок вследствие нагружения их таким внутренним давлением, при котором внутренние слои получают пластическую деформацию, а наружные практически не деформируются Такое автоскрепление ствола называется автофретажем. В настоящее время автофретаж применяется для изготовления стволов артиллерийских систем и специального диверсионного оружия. Во время Второй мировой войны автофретажные стволы довольно часто применялись в крупнокалиберных пулеметах и противотанковых ружьях. Автофретажный ствол имеет несколько меньший разброс пуль, чем ствол моноблок, позволяет стрелять боеприпасами повышенной мощности, имеет повышенную живучесть Иногда такая конструкция применялась и в снайперских винтовках.
До сих пор применяется так называемое лейнирование стволов. Лейнер - тонкий внутренний слой (трубка) двухслойного (лейнированного) ствола, вставленный внутри наружной несущей обложки и сменяемый при износе внутренней поверхности канала ствола. Очень часто лейнеры изготавливались из бронзы. Бронзовый лейнер на 20-25% уменьшает трение прохождения по нему снаряда (пули) и значительно повышает начальную скорость метательного поражающего элемента без увеличения порохового заряда. При этом лейнированные стволы менее подвержены перегреву. Во время Второй мировой войны лейнированные стволы применялись немцами в противотанковых и зенитных орудиях В настоящее время лейнеры-вставки используются в пневматическом оружии для повышения начальной скорости пули. Кучность боя лейнированного ствола оставляет желать лучшего.
Перезарядка современного снайперского оружия происходит или вручную, или автоматически, в зависимости от конструкции. При стрельбе из неавтоматических магазинных винтовок со скользящим затвором (таких конструкций подавляющее большинство) после выстрела стрелок поворачивает рукоятку затвора вверх, против часовой стрелки При этом взводится курок и боевые выступы затвора (или боевой личинки) выходят из зацепления с боевыми выступами ствольной коробки (что открывает ствол). Следующим движением стрелок тянет затвор на себя, вытаскивает из патронника зацепленную выбрасывателем стреляную гильзу, которая наталкивается на отражающий выступ и выбрасывается в выводное окно за пределы оружия. Очередной патрон, ранее прижатый сверху закрытым затвором, при открытом затворе усилием пружины подается вверх и становится перед затвором. При движении затвора вперед он наталкивается на патрон, подает его вперед, к стволу, и загоняет в патронник. При повороте рукоятки затвора вниз его боевые выступы заходят за боевые выступы ствольной коробки. Оружие готово к выстрелу.
Перезарядка современного полуавтоматического (самозарядного) снайперского оружия происходит по принципу отвода части пороховых газов из канала ствола и инерции подвижных частей Подвижные части - это газовый поршень, толкатель и затворная рама.
Газоотводное отверстие в стволе находится обычно в его второй половине, где давление газов уже упало и не оказывает существенного влияния на разгон пули, но достаточно велико, чтобы с большой скоростью отбросить назад подвижные части. При выстреле, как только пуля минует газоотводное отверстие, проникшие через него в газовую камеру пороховые газы давят на поршень и отбрасывают его назад. Поршень сопряжен с толкателем (штоком) и затворной рамой (иногда они составляют одно целое, как в автомате Калашникова). За то время, пока пуля проходит оставшуюся дистанцию ствола, тяжелые подвижные части проходят всего несколько миллиметров. Но при этом они набирают существенную скорость, от 5 до 10 м/с (у разных образцов оружия). Когда пуля уже покинула ствол и давление пороховых газов в нем упало, подвижные части продолжают двигаться назад силой инерции при заданной им скорости. Отходя назад, затворная рама (как и при отводе ее назад за рукоятку) передним скосом фигурного паза поворачивает затвор и выводит его боевые выступы из вырезов ствольной коробки. Происходит отпирание затвора и открывание канала ствола. Открывание канала ствола происходит уже тогда, когда пуля отлетела от оружия на 40-50 метров и давления в канале ствола уже практически нет - иначе его было бы просто не открыть.
Затворная рама с затвором по инерции продолжает движение назад и зацепом выбрасывателя вытаскивает гильзу из патронника. Удерживаясь выбрасывателем в чашечке затвора, гильза наталкивается на отражательный выступ ствольной коробки и выбрасывается наружу через выводное окно ствольной коробки.
При движении назад подвижных частей курок под действием затворной рамы поворачивается назад и становится на боевой взвод. Разобщающий механизм расцепляет шептало со спусковым крючком. Очередной патрон в магазине под действием пружины поднимается вверх до упора в загибы боковых стенок магазина.
После остановки в заднем крайнем положении под действием возвратной пружины (или системы возвратных пружин) подвижные части подаются вперед. Затвор выталкивает из магазина верхний патрон и досылает его в патронник. При подходе затвора к патроннику зацеп выбрасывателя заскакивает в кольцевую проточку гильзы или за ее закраину. Воздействием фигурного паза затворной рамы на ведущий выступ затвора последний поворачивается, его боевые выступы входят в вырезы ствольной коробки, и затвор запирается. При движении системы вперед выключается автоспуск (разобщитель). Оружие готово к выстрелу. Для стрельбы нужно отпустить спусковой крючок и вновь его нажать.
На некоторых системах, например на бесшумной винтовке ВСС (винторез), поворачивающегося курка нет. Его функции выполняет ударник, смонтированный в затворе. При отходе подвижных частей назад взводится пружина ударника, при движении подвижных частей и затвора вперед ударник, удерживаемый шепталом, остается на месте во взведенном положении.
Снайперское оружие большой мощности может полноценно работать только при жестком запирании неподвижного ствола. В разное время на разных системах практиковались всевозможные способы запирания - качающиеся рычаги, клинья, ролики, перекосы затвора, боевые упоры и т. д. Наиболее удачным механизмом запирания ствола, что подтвердила многолетняя практика, оказалось применение вращающегося затвора (боевой личинки), который сам по себе является деталью запирания. Боевые выступы на затворе (боевой личинке) при повороте этой детали вокруг оси заходят за боевые выступы (вырезы) в ствольной коробке и обеспечивают этим жесткое, неподвижное и надежное запирание ствола (схема 145). Система запирания скользящим затвором с поворотом обеспечивает большую кучность и стабильность боя, потому что при скользящем в одном и том же продольном направлении затворе представляется возможным выполнить в переднем торце затвора специальное углубление для контакта с донной частью гильзы, так называемую чашечку затвора. Чашечка затвора охватывает со всех сторон гильзу по закраине (схема 146), что позволяет сцентрировать по оси затвор и патрон, чем уменьшаются ненужные поперечные напряжения, возникающие при выстреле. Кроме того, чашечка позволяет удерживать гильзу при ее экстракции назад из патронника в однообразном положении до момента выбрасывания ее наружу. Существует механическая закономерность, влияющая на вибрацию ствола: чем ближе к дну гильзы находится запирающий элемент (боевые упоры), тем меньше район упругих деформаций узла запирания, ствольной коробки и системы со стороны казенной части в целом. Механически разгружается ствольная коробка. Соответственно меньше поперечные напряжения и вызываемые ими вибрации ствольной коробки и ствола. При этом улучшается кучность боя оружия и его боевая живучесть.

Схема 145. Запирание ствола

Схема 146. Чашечка Затвора
Передняя плоскость затвора (чашечки затвора или боевой личинки), па которую опирается дно гильзы при выстреле, называется зеркалом затвора. Зазор между наружной поверхностью дна гильзы (шляпки гильзы) патрона, поданного в патронник и занимающего в нем крайнее переднее положение, и зеркалом затвора называется зеркальным зазором. У винтовок зеркальный зазор обычно равен 0,1 мм.
Перед выстрелом между стенками гильзы и стенками патронника, а также между дном гильзы (шляпкой) и дном чашечки (зеркалом) затвора обычно имеются зазоры, необходимые для обеспечения подачи патрона в патронник и надежного запирания затвора. Разница в диаметре патрона и патронника называется диаметральным зазором. У систем, работающих на трехлинейных патронах, нормальный диаметральный рабочий зазор тоже равен 0,1 мм.
При выстреле, в период нарастания давления пороховых газов, гильза раздувается, увеличивается в диаметре, выбирает начальный диаметральный зазор и ее стенки вплотную прижимаются к стенкам патронника. Полное прижатие стенок гильзы с поверхностью патронника происходит сначала в наиболее тонких местах стенок гильзы, а именно - у ската, и распространяется по корпусу гильзы к ее дну по мере дальнейшего нарастания давления. То есть, когда передняя часть гильзы (от ствола) намертво прижата внутренним давлением к стенкам патронника, задняя часть еще свободна и не прижата. Запомним этот момент.
Прижатая к стенкам патронника гильза обеспечивает обтюрацию пороховых газов. При дальнейшем нарастании давления газов прижатая к стенкам патронника гильза давит на патронник изнутри и вызывает его упругую деформацию. Происходит совместная упругая деформация стенок гильзы и патронника. Наибольшего значения эта деформация достигает в момент максимального давления пороховых газов (схема 147).

Схема 147. Схема сил, действующих на бутылочную гильзу при выстреле
При спаде давления пороховых газов получается обратная картина. Стенки патронника, получившие упругую деформацию, этой же упругой деформацией возвращаются назад к первоначальному диаметру. Стенки гильзы возвращаются только на величину упругой деформации и не доходят до своего первоначального диаметра на величину остаточной деформации металла, из которого она сделана. Поэтому стреляные гильзы всегда будут немного раздуты.
В новом оружии это раздутие гильзы всегда будет меньше диаметрального зазора, и диаметр гильзы будет меньше диаметра патронника, поэтому гильзы без затруднений извлекаются и выбрасываются. Если оружие старое, с "разбитым" патронником, гильза при выстреле раздувается настолько, что ее остаточная деформация преобладает над деформацией упругой (которая возвращает диаметр гильзы в первоначальное положение), и в таком случае ее "зажимает" обратной упругой деформацией сужающихся стенок патронника. Гильзу подчас "прихватывает" настолько, что силы инерции подвижных частей автоматики не хватает на то, чтобы извлечь ее из патронника. При этом очень часто ломаются зацепы-выбрасыватели.
Так работает винтовочная гильза на расширение. Но существует еще и сила отдачи. Вследствие давления пороховых газов на дно гильзы последняя смещается к затвору и выбирает начальный зеркальный зазор. Гильза смещается сначала свободно, затем с нарастающими тормозящими силами трения о стенки патронника, сначала в передней (возле ската), затем в задней части.
При высокой прочности крепления пули в дульце гильзы последняя смещается с самого начала при наличии сил трения. Ввиду большой боковой поверхности сила трения возрастает быстрее, чем сила давления на дно, поэтому с возрастанием давления газов происходит последовательная остановка отдельных участков гильзы, начиная с тех мест, где ее стенки наиболее тонки, то есть начиная с дульца гильзы и мест вблизи ската. Короче, гильзу дьявольским давлением намертво прижимает передней частью к стенкам патронника, в то время как задняя часть возле шляпки еще движется (растягивается) назад. Шляпка гильзы выбирает зеркальный зазор и давит непосредственно на зеркало затвора, вызывая упругую деформацию деталей узла запирания. Происходит упругая осевая продольная деформация гильзы. При незначительном (рабочих размеров) зеркальном зазоре и неизношенных деталях узла запирания упругая деформация после падения давления в стволе возвращает продольные размеры этих деталей и стреляной гильзы в первоначальное состояние. Остаточная продольная деформация гильзы при этом мала и в расчет не принимается. Но если запирающий узел изношен и между рабочими опорными поверхностями боевых выступов затвора и опорных вырезов ствольной коробки, взаимно воспринимающих нагрузки выстрела, есть выработки и люфты, упругая деформация гильзы перерастает сначала в пластичную, затем в остаточную, а при очень больших люфтах боевых сочленений наступает продольный разрыв гильзы. Чаще всего этот разрыв происходит вблизи шляпки гильзы, ибо в этой части гильза еще движется при выстреле, а в передней части - уже нет.
Оружие с изношенным механизмом запирания и раздутым патронником можно использовать. Но для этого гильзу надо смазывать любым минеральным маслом, хоть ружейным, хоть автомобильным. Масло заполняет диаметральный зазор между стенками гильзы и стенками патронника. Как известно, плотность жидкости в 800 раз больше плотности воздуха, поэтому люфт раздутого патронника компенсируется этой плотностью, и гильза не раздувается. Возвратное упругое сопротивление патронника смазанную гильзу не "прихватывает". Где есть смазка, там нет трения, останавливающего гильзу. По этой причине смазанная гильза может силой отдачи практически свободно смещаться назад, к зеркалу затвора, даже при довольно большом износе узла запирания. Но если вы смазываете гильзу, то запомните: нельзя смазывать часть гильзы возле шляпки и оставлять сухие участки возле ската и дульца. За эти сухие участки гильзу внутренним давлением выстрела "прихватит" к патроннику, а ее задняя смазанная часть свободно двинется назад, и ее оторвет как раз на границе смазанных и несмазанных участков. Лучше, когда смазывают две трети гильзы со стороны пули. Долго держать патроны в смазанном состоянии нельзя: смазка вследствие поверхностного натяжения проникает внутрь патрона и обволакивает капсюльный и пороховой заряды, после чего они не срабатывают. В снайперских винтовках обычно заранее смазывают патронники маслом средней густоты (при сильных морозах - веретенным маслом, обычным керосином или соляркой). Смазанного патронника обычно хватает на десять выстрелов. Если есть графитовая смазка - оружейная или хотя бы автомобильный нигрол, - такой смазки в патроннике хватает выстрелов на двадцать. Графит сам по себе есть прекрасное смазывающее вещество.
В Сибири до сих пор стреляют из трехлинейных винтовок и американских винчестеров, оставшихся еще со времен гражданской войны. Патронники этого оружия уже достаточно раздуты, но мужики покрывают патроны со всех сторон (и даже со стороны шляпки) расплавленным парафином или воском. При таком покрытии боеприпасов старое оружие безотказно работает до сих пор. Застывшее покрытие не проникает внутрь патрона, не портит боевой заряд и прекрасно предохраняет его от сырости, которая в тайге присутствует везде.
С уменьшением жесткости узла запирания при его износе или неудачном конструировании оружия увеличивается зеркальный зазор и соответственно увеличиваются осевые растяжения и поперечные разрывы гильз. При деформации всего 0,34 мм уже начинают появляться признаки кольцевого (в одном месте) растяжения стенок наиболее твердых гильз. При деформации 0,48 мм резко увеличивается количество гильз с признаками разрушения. При большой деформации деталей узла запирания резко ухудшается отпирание ствола и открывание затвора даже при смазанных гильзах из-за осевого смещения гильзы силой отдачи назад из конусного патронника. В системах с ручной перезарядкой это не имеет принципиального значения: затвор открывается туго, но все-таки открывается. Но автоматические системы начинают при перезарядке "спотыкаться". Особенно это ощущается при стрельбе из пулеметов. Большое влияние на увеличение зеркального зазора оказывают конструкционные особенности того или иного образца оружия, а именно: система запирания, конструкция дна чашечки затвора, конструкция казенного среза ствола. Неудачное конструирование сопряжения затвора и казенного среза ствола всегда влечет за собой увеличение зеркального зазора и, как следствие, затрудненную экстракцию гильзы и ее разрыв. Особенно характерно эти моменты проявляются в самозарядной винтовке Токарева (СВТ), где запирание происходит при перекосе затвора задней частью вниз. При этом трудно сохранить стабильное положение затворной чашечки относительно шляпки патрона и стабильное положение зеркала затвора относительно казенного среза ствола. При выстреле ствольная коробка СВТ изгибается от упирания в нее задним опорным краем перекошенного затвора. К тому же патронник в данной винтовке имеет тонкие стенки для облегчения веса и поэтому получает большую упругую деформацию. Этого достаточно, чтобы после настрела 8000 выстрелов отрыв шляпки гильзы, невыброс гильзы и отрывы выбрасывателя превратились на винтовке СВТ в хроническое явление.
На легкость экстракции гильз и прочность их на разрыв оказывают влияние как свойства оружия, так и свойства патрона.
В зависимости от неоднородной закатки (запрессовки, завальцовки) пули в гильзе различны и усилия, сдвигающие пулю с места. С увеличением прочности крепления пули в дульце гильзы увеличивается максимальное давление газов, поскольку увеличивается часть заряда, сгорающая в условиях постоянного объема. Чем больше давление, тем больше влияние всех остальных факторов на прочность и экстракцию гильзы. Чем больше давление, тем меньше конечные зазоры между гильзой и окружающими ее деталями оружия. При высоком давлении газов гильза с самого начала будет смещаться при наличии значительных сил трения. В результате этого стенки гильзы окажутся более растянутыми в осевом направлении к моменту максимального давления газов, чем это произошло бы при слабом креплении пули. Поэтому не удивляйтесь, если при стрельбе валовыми патронами у вас вдруг разорвет гильзу пополам и часть ее останется в патроннике - значит, она была закатана плотнее других.
Большое влияние на работу гильзы оказывает наружная форма дна гильзы. Казалось бы, не все ли равно, имеет ли гильза закраины для захвата выбрасывателем или же на ней для этого сделана кольцевая проточка. Казалось бы, гильзы с проточкой даже удобнее для работы автоматического оружия. Однако наличие кольцевой проточки для зацепа выбрасывателя в сочетании с низкими механическими характеристиками прочности в значительной степени ослабляет сопротивление дна гильзы отжимающим нагрузкам. За счет пластической деформации сжатия дна происходит дополнительное осевое растяжение стенок и увеличение поперечных размеров донной части гильзы, чем и объясняется ухудшение прочности и экстракции гильзы, особенно при большой деформации узла запирания. В связи с этим неблагоприятное влияние оказывает на работу гильзы и такой на первый взгляд отдаленный фактор, как форма наружной поверхности дна гильзы. Различного рода углубления на поверхности дна гильзы для расположения знаков клеймения уменьшают опорную поверхность и способствуют деформации дна.
Кроме того, цилиндрическая гильза с кольцевой проточкой требует очень точной обработки патронника по длине. Гильзы с кольцевой проточкой в патроннике упираются скатом в скат патронника и таким образом фиксируются. При этом требуется очень большая точность изготовления гильзы по длине и, соответственно, точность изготовления оружия, стреляющего такими боеприпасами. При самом незначительном отступлении от этого требования в сторону увеличения увеличивается и "провал" гильзы в патронник, а следовательно, увеличивается и зеркальный зазор со всеми вытекающими последствиями.
Поэтому предпочтительнее иметь гильзу с закраиной. Такая гильза не "провалится" в патронник - дальше казенного среза ствола ее не пустит закраина. Гильзам с упором выступающей закраины не требуется большая точность по длине яри изготовлении. Шляпка (дно) такой гильзы имеет втрое большее сопротивление сжимающим нагрузкам. И кроме того, закраина для зацепа выбрасывателя намного надежнее, чем кольцевая проточка. Применение в окопных условиях патронов с закраиной для винтовок и пулеметов намного надежнее, чем патронов с проточкой. Этим и объясняется то, что всем известный трехлинейный патрон с закраиной существует на вооружении Российской (Советской) Армии более 100 лет, и, по всей видимости, стрелять этими патронами будут еще очень долго-
Для легкости извлечения стреляной гильзы из патронника гильзы сильных винтовочных боеприпасов делают конической бутылочной формы. Соответственно, такой же конической формы делают и патронник. Причем внутренние стенки патронника выполняются для уменьшения трения с очень большой чистотой и обрабатываются почти до зеркального состояния.
Формы гильз непрерывно пытались совершенствовать. Оружейникам и стрелкам неоднократно приходилось видеть гильзы с кольцевой накаткой (гофром) посредине. Этот гофр, а иногда и несколько гофров, делается для того, чтобы гильза могла растянуться по оси, не разорвавшись.
Сами гильзы выполняются с очень большой точностью. Случается, что гильзы (особенно военного времени выпуска) имеют меньший диаметр, чем положено. Такие гильзы при выстреле или раздуваются, или, чаще всего, разрываются (дают трещину) в продольном направлении. Такое явление происходит и при сильно раздутом патроннике.
С раздутиями и разрывами металлических бутылочных гильз боролись с самого их изобретения - с конца прошлого столетия - и борются до сих пор. К пулеметным запирающим механизмам приспосабливают различные металлические прокладки, уменьшающие зеркальный зазор при износе механизмов. В первой половине XX столетия в ряде стран в пулеметных системах применялись масляные капельницы для смазывания патронов при подаче в патронник. У пулеметов меняли изношенные стволы с раздутыми патронниками. "Подсевшие" затворы или раздвижные боевые упоры (пулеметы Горюнова и Дегтярева ротный) меняли на ремонтные большей длины. Болезнь поперечного разрыва гильзы в пулеметах до сих пор дает себя знать. К пулемету Дегтярева (ДП, ДПМ) даже полагался прибор для извлечения оборванной части гильзы. Он представлял собой стержень в виде винтовочного патрона с гарпуном; при обрыве гильзы его вставляли вместо боевого патрона, затвором задвигали в патронник и вытаскивали назад вместе с фрагментом оборванной гильзы.
У винтовок восстановление нормального зеркального зазора между передней плоскостью затвора и дном гильзы производится путем замены боевой личинки (затвора у СВД) на повышенную, с повышенными по оси затвора боевыми выступами, или напайкой на зеркале затвора. Но такие вещи должен делать опытный оружейник.
В настоящем пособии рассмотрена работа гильз сильных боеприпасов для винтовок и пулеметов при жесткой системе запирания. В пистолетах и пистолет-пулеметах, где применяются маломощные патроны, со свободными и полусвободными затворами, работа гильз несколько иная. Но требования к материалам, из которых изготавливаются гильзы, одинаковы для всех типов боеприпасов.
Материал, из которого изготовлены гильзы, должен соответствовать специфическим нагрузкам выстрела. Гильзы, изготовленные из слишком упругого материала, начинают рваться при расширении и растяжении.
Гильзы из чрезмерно пластичного металла, который практически не имеет упругости обратной деформации, после падения давления в стволе остаются в раздутом состоянии, "зажимаются" патронником и не выходят после выстрела. Кроме того, материал гильзы должен обеспечивать возможно меньший коэффициент трения.
Идеальным материалом, отвечающим почти всем предъявляемым требованиям для изготовления гильз винтовочных патронов, является латунь. Но латунь дорога и, кроме того, при длительном хранении она становится хрупкой. Поэтому наиболее применяемьм материалом для изготовления гильз является мягкая сталь, плакированная (биметаллизированная) томпаком. Слой томпака берется толщиной, составляющей 4-6% толщины стенки гильзы. Томпак предохраняет гильзу от коррозии и резко снижает коэффициент трения, способствуя улучшению экстракции гильзы после выстрела.
Гильзы, как и оболочки пуль, изготавливаются также из холоднокатаной стали с последующим покрытием специальным лаком (обычно зеленого цвета), который улучшает условия работы гильзы при выстреле, дает смазывающий эффект, улучшает коэффициент трения и предохраняет патрон от коррозии.
Гильзы изготавливаются методом глубокой вытяжки. Технологически этот процесс довольно сложный и ответственный.
Продолжительность срока, службы винтовочного ствола зависит от многих причин: конструкции ствола, количества боеприпасов, сортов пороха и эксплуатационных условий. Предельное число выстрелов, которое можно сделать из конкретного ствола до такой степени его износа, при которой ствол бракуется, называется живучестью ствола. Ствол снайперского оружия считается негодным для дальнейшего применения, если он имеет такой износ канала с дульной и казенной частей, что при стрельбе из него рассеивание превышает допустимые пределы.
Снайперские стволы бракуются в тех случаях, если они имеют трещины или раздутия.
Износ и разрушения ствола зависят от большого числа факторов различной природы. Удачный снайперский ствол особо кучного боя нужно беречь. Для того чтобы сохранить ствол боеспособным как можно дольше, надо хорошо представлять себе те вредные для него процессы, которые происходят в канале ствола во время выстрела и после него.
Основной причиной механического износа канала ствола является истирание его внутренних поверхностей в результате:
Попадание в канал ствола песка, грязи, пыли и т. п. приводит к появлению на его стенках царапин и растиранию ствола по диаметру. Особенно это заметно при выходе из канала ствола, на расстоянии 4-5 см от дульного среза. Пыль, всегда имеющаяся в атмосфере, естественным образом попадает в ствол и осаждается на его внутренних стенках вблизи дульного среза. Пуля при выстреле "тянет" за собой эти частички пыли, которые действуют как наждак. Известно, что один грамм пыли выносит таким образом за собой один грамм металла. Со временем в конце канала ствола образуется раструб, очень часто настолько большого диаметра, что вставленный в ствол с дульной части боевой патрон иногда "проваливается" в канал ствола вместе с дульцем гильзы по самые скаты. Что интересно, конфигурация нарезов при этом сохраняется, но пуля начинает "гулять" по сторонам и о точности боя не может быть и речи.
Растертость пульного входа и дульной части довольно часто получается вследствие неправильной чистки стальным шомполом. Ствол ни в коем случае нельзя чистить с дульной части. Стальной шомпол медленно, но верно стирает поля нарезов. Ствол снайперской винтовки протирается удлиненным шомполом с пластмассовым покрытием и только со стороны казенной части. Протирки, на которые наматывается ветошь или костричная пакля, желательно иметь латунные - они практически не изнашивают внутренние стенки ствола. Если же приходится чистить ствол стальным штатным шомполом, то на него обязательно должна надеваться гильза с отверстием, просверленным в районе капсюльного гнезда. Такая гильза, поставленная в патронник, не позволит шомполу растирать нарезы в районе пульного входа.
Ни в коем случае нельзя допускать ударов по стволу, вызывающих его погибы и вмятины. Ствол с вмятинами подлежит немедленной выбраковке. И не из-за ухудшения кучности боя, а по той причине, что такой ствол может элементарно разорвать вблизи вмятины со стороны патронника. Погиб ствола, даже самый незначительный, вызывает повышенный разброс.
Ствол, работающий в экстремальных условиях, очень подвержен раздутию. Причиной раздутия служит попадание в ствол крупных частичек песка, комков грязи, снега, оставление в стволе смазки или волокон ветоши после чистки. Механизм раздутия следующий: пуля при выстреле движется по стволу, и толкающие ее пороховые газы движутся вплотную к ней с той же скоростью. Когда пуля, натолкнувшись на препятствие, "притормаживает", даже незначительно, пороховые газы отражаются назад от донной части пули, и эта обратная волна встречается с основным потоком газов. На месте встречи этих газовых потоков возникает область повышенного давления, которая и раздувает ствол в стороны (схема 148). Если препятствие небольшое, пуля преодолевает его и выбрасывается из ствола. Если препятствие непреодолимо, возникшая область повышенного давления разрывает ствол. По этой причине ствол запрещается закрывать или затыкать чем-либо.

Схема 148. Раздутие ствола
Незначительные раздутия, имеющие при просмотре канала ствола на свет форму темных колец (или полуколец), называются кольцевыми. Они очень мало влияют на кучность и силу боя или даже совсем не влияют. Но в процессе эксплуатации кольцевое раздутие увеличивается все больше и больше. Рано или поздно кольцевое раздутие превращается в продольное. При этом происходит значительный прорыв газов в районе раздутия, сход пули с нарезов, падение мощности выстрела до 20%, и естественно, повышается разброс.
Как это ни покажется странным, раздутия в малокалиберных стволах происходят таким же образом, как и в стволах нормального калибра. При выстреле в стволе малокалиберной винтовки образуется давление около 1400 кг/см2. Стволы малокалиберных винтовок не разрывает, но раздутия в них - довольно частое явление.
Причиной раздутия ствола малокалиберной винтовки очень часто является наволакивание свинца на стенки канала при стрельбе пулями старых "затасканных" патронов со стертой осалкой. Раздутие стволов у малокалиберных биатлоновских винтовок - обыкновенное явление. При низких температурах зимой, когда порох не сгорает полностью и пуля застревает в стволе, биатлонисты чаще всего выбивают ее не шомполом, а следующей пулей. Такие вещи происходят на соревнованиях, когда результат добывается любой ценой и раздутие оружия не в счет.
Работа оружейного ствола тяжела. В его канале во время выстрела развиваются высокие давления, а продукты сгорания пороха и капсюльного состава химически агрессивны и вредны для металла, из которого изготовлен ствол. Кроме того, при этом образуются твердые продукты, которые портят полированную поверхность канала ствола.
Наиболее агрессивно действуют продукты сгорания капсюльного состава. Например, раскаленные частицы хлористого калия соединяются с металлом поверхности канала ствола, в результате чего сталь в таких местах становится легкоплавкой. Расплавленные частицы этой стали пороховые газы выносят наружу, на их месте канал ствола сначала теряет блеск и делается шершавым, со временем покрывается сыпью, а затем и мелкими раковинами. Это явление называется разгаром ствола. Разгар ствола наблюдается сразу же после пульного входа. Но это еще не все. Хлористый калий, оставшийся на поверхности канала ствола, гигроскопично "натягивает" на себя атмосферную влагу из окружающего воздуха. В результате чего происходит электрохимический процесс разъедания стали, то есть интенсивного ржавления стенок ствола. К этим крайне нежелательным явлениям присоединяется еще и действие ртути капсюльного состава, которая углубляется в толщину металла, ослабляет связи между его частицами и вызывает появление микроскопических трещинок, усиливая этим разгар ствола.
Механическое растирание является главной причиной износа оружейных не хромированных стволов. Хромированные стволы с повышенной износостойкостью выходят из строя главным образом по причине сильного разгара ствола с казенной части.
При выстреле под воздействием колоссальных давлений и высоких температур в металле канала ствола наступает явление так называемой окклюзии (от латинского occlusio - скрытность). Оно заключается в проникновении агрессивных пороховых газов в поры и микроскопические полости металла. При упругой деформации стенок ствола поры металла расширяются, и раскаленные газы под давлением глубоко проникают в них. После выстрела ствол охлаждается и силой той же упругой деформации возвращается в первоначальные объемы, поры уменьшаются, и поглощенные газы выделяются из них постепенно. Процесс выделения газов из металла оканчивается через 3-5 дней, и на протяжении этого времени продукты горения химически действуют на металл ствола, снижая его механическое сопротивление износу. Ослабленная таким образом рабочая поверхность канала ствола интенсивнее срабатывается от трения при прохождении по нему пули.
Все вышеописанные химические процессы в канале ствола начинаются сразу же после выстрела и продолжаются до тех пор, пока оружие не будет тщательно вычищено.
Своевременная и правильная чистка и смазка канала ствола и всего оружия в целом - единственный способ сохранить его для боевого применения на длительный срок.
Нагар, оставшийся в канале ствола после выстрела, имеет кислотную реакцию. Наиболее полноценно он нейтрализуется веществами, имеющими щелочную реакцию. Щелочь и кислота, как известно из курса химии, взаимно нейтрализуются.
В стационарных армейских условиях для чистки каналов стволов и других частей оружия, подвергшихся воздействию пороховых газов, применяется так называемый РЧС (раствор чистки оружия).
РЧС приготавливается в следующем составе:
Раствор приготавливается в том количестве, какое необходимо для чистки оружия в течение одних суток. Небольшое количество раствора разрешается хранить не более 7 суток в пол-литровых бутылках, закупоренных пробкой, в темном месте и вдали от нагревательных приборов. В масленки РЧС наливать запрещается.
Чистку канала ствола производят ершиком, смоченным в растворе, затем канал ствола протирают паклей. Чистку раствором следуют продолжать до полного удаления нагара, то есть до тех пор, пока смоченный раствором ершик или пакля не будет выходить из канала ствола без признаков нагара. После чего протереть канал ствола сухой паклей, а затем чистой ветошью. На следующий день проверить качество произведенной чистки и, если при протирании канала ствола чистой ветошью на ней будет обнаружен нагар, произвести повторную чистку в том же порядке.
По окончании чистки нарезной части канала ствола таким же порядком вычистить патронник со стороны ствольной коробки и тем же порядком вычистить газовую камеру, газовый поршень, газовый регулятор и прочие детали газоотводного узла (у автоматического оружия).
Внимание: раствор РЧС является лучшим средством нейтрализации продуктов горения боевого заряда и прекрасно размягчает твердые частицы нагара, пригоревшие к металлу. Но его нельзя долго оставлять на поверхности оружия во избежание появления ржавчины. После применения остатки раствора тщательно снимают с поверхностей оружия. Оружие вытирается насухо сухой ветошью, затем канал ствола, патронник, детали газоотводного узла, затвор, затворная рама и другие поверхности смазываются любым оружейным нейтральным маслом (отличие нейтрального масла - оно не пахнет керосином).
Если нет РЧС, после стрельбы канал ствола и все детали, соприкасавшиеся с пороховыми и капсюльными газами, смазывают щелочным маслом (оно пахнет керосином) и в таком состоянии оставляют на несколько минут. Щелочное масло довольно неплохо отъедает нагар и нейтрализует его. Но щелочное масло тоже нельзя долго оставлять на поверхности оружия: содержащаяся в нем щелочь вызывает коррозию металла. После чистки щелочное масло тщательно удаляют, и оружие смазывается нейтральным маслом.
Очень хорошо чистит оружие обыкновенный керосин. Керосин обладает повышенной текучестью и поэтому довольно глубоко проникает в поры металла. Керосин имеет сильную щелочную реакцию, поэтому довольно легко нейтрализует кислотные продукты сгорания и быстро "отъедает" любой нагар, ржавчину, грязь. Можно использовать обыкновенный керосин, но он содержит небольшое количество воды. Для обезвоживания керосина надо хорошо прожаренную на сковороде столовую соль всыпать в бутылку с керосином (2 столовые ложки соли на 1 литр керосина), закрыть пробкой и хорошенько взболтать. Через двое суток обезвоженный керосин сливают с осадка в другую бутылку и разливают по масленкам. Керосин в масленке можно носить с собой в полевых условиях. Кроме того, в зимних условиях керосин отлично работает в качестве зимней смазки.
Обыкновенная человеческая слюна имеет слабощелочной состав и может применяться для нейтрализации кислотного действия продуктов сгорания пороха и капсюля. Кроме того, следует учесть, что продукты сгорания боевого заряда больше водорастворимы, чем маслорастворимы. Поэтому вы сделаете правильно, если сразу же после стрельбы ершиком, смоченным слюной, протрете канал ствола. Через пару минут ствол протрите насухо - вы увидите, сколько гари окажется на ершике и протирочной пакле. Разумеется, этого нельзя делать при минусовой температуре. Зимой оружие лучше чистить все тем же керосином.
В старые времена, когда не было разнообразия специальных ружейных масел, винтовки чистили обыкновенной мыльной водой. Мыло, как известно, обладает щелочной реакцией, и ершик, смоченный мыльным раствором, очень хорошо снимает нагар со стенок канала ствола. Потом, разумеется, ствол нужно протереть насухо и смазать любым минеральным маслом или свиным салом.
В условиях боевого выживания, когда нет ни ружейного масла, ни мыла, ни тем более керосина, вместо всего этого с успехом применяется серая зола от костра. Она тоже имеет щелочную реакцию. Зола наносится на мокрый ершик или любую ветошь. После чистки ствол сразу же протирается насухо и смазывается.
Правильной чисткой будет только такая, которая нейтрализует вредное химическое воздействие окклюзии (см. выше) пороховых и капсюльных газов на протяжении всего времени их действия, пока они окончательно не выйдут из металла. Винтовку нужно почистить как можно быстрее после стрельбы, даже после одного-единственного выстрела. Никакая усталость не может быть оправданием для того, чтобы отложить чистку оружия на следующий день. Чистка производится в следующем порядке: сначала канал ствола протирается сухой ветошью, закрепленной на протирке. Этим снимается слой мягкого нагара. Затем ствол протирается жесткой кострицей, туго намотанной на протирку и смоченной любым щелочным составом из числа вышеописанных. Это делается для удаления твердых продуктов горения, пригоревших к металлу. Мягкой ветошью они не удаляются, а наоборот, еще глубже втираются в металл. Очень хорошо, почти идеально для этих целей подходят специальные латунные ершики, тоже смоченные щелочным составом, которые прекрасно снимают не только твердые частицы нагара, по и наслоения томпака от пульных оболочек, которые скапливаются по углам канавок нарезов. Именно под этими наволакиваниями и скоплениями и происходит наиболее интенсивное ржавление металла ствола. Щелочной состав оставьте в стволе па несколько минут и затем протрите канал ствола чистой сухой ветошью. Ершом смажьте канал ствола слабощелочным маслом (щелочным маслом, разбавленным 1:4) или маслом нейтральным. Если есть возможность, заткните ствол с дула пробкой и заполните его керосином.
Как уже говорилось, выделение продуктов сгорания боевого заряда из пор металла происходит на протяжении А-6 дней. На следующий день повторите чистку - вы увидите, сколько гари "отпотело" из, казалось бы, тщательно вычищенного ствола. Такое же повторите и на следующий день - до тех пор, пока все продукты сгорания не будут нейтрализованы, не выйдут наружу и не будут удалены.
Процесс выделения газов из пор металла происходит беспрерывно, и эти газы остаются на поверхности металла под слоем масла и незаметно оказывают разрушающее действие и далее. Поэтому на протяжении почти недели после стрельбы вам придется оружие чистить, чистить и чистить. И даже если через пару недель после такой капитальной чистки вы прогоните по стволу белую тряпочку, вы обнаружите на ней следы отпотевшей копоти. Если она черная, то ничего страшного - это естественный процесс "отпотевания" из металла продуктов сгорания. Но если она рыжая - это уже плохо. Это следы ржавчины. Это значит, что вы недостаточно почистили оружие сразу после стрельбы. Берите в руки шомпол и начинайте все сначала. По этим причинам в армии чистят оружие ежедневно, независимо от того, стреляли из него или нет. Запомните: сразу же после чистки оружия канал ствола смазывается маслом. Если оружие предполагается чистить на следующий день, допускается применение слабощелочной смазки. Если нет, то канал ствола смазывается нейтральным маслом.
Аналогичным образом производится чистка и смазка патронника и всех частей оружия, имевших контакт с продуктами горения боевого заряда.
Обращайте особое внимание на чистку чашечки затвора. Капсюльные газы, которые агрессивнее пороховых, прорвавшись между капсюлем и гильзой, разъедают "кружочек" вокруг выхода ударника. Если нагар в этом месте не удалять и не бороться с коррозией, возникает уже не кружочек, а углубление.
Тщательно вычищайте все рабочие поверхности деталей газоотводного узла автоматических винтовок. Это место очень подвержено ржавлению от действия пороховых газов.
Очень подвержены ржавлению не хромированные каналы стволов трехлинейных винтовок. Но и хромированные стволы винтовок СВД следует чистить не менее тщательно: у "запущенных" стволов СВД рано или поздно наступает химическое проникновение на молекулярном уровне агрессивных газов под хромовое покрытие, развиваются невидимые, скрытые под хромом обширные химические процессы, и хромированное покрытие внезапно начинает отслаиваться, обнажая изъеденные сыпью, ничем не защищенные участки. Оружие нельзя запускать. Даже в боевых условиях снайперы при малейшей возможности протирают стволы и производят необходимые работы по уходу за оружием.
Оружие, занесенное с мороза в теплое помещение, не разбирайте и не чистите сразу. Минут через 20-30 оно "отпотеет", то есть покроется капельками конденсированных водяных паров. Только после этого оружие разбирается и протирается насухо.
Летом при боевом применении оружие вытирается насухо во избежание налипания песка и пыли. Осенью и весной оружие смазывается тонким слоем нейтрального масла.
В зимних условиях оружие начинает приобретать чувствительность к загустению смазки. Но смазывать оружие необходимо по той причине, что на не покрытых смазкой частях прилипают снежинки, капельки воды, и все это примерзает друг к другу. Автоматика и подвижные части прекращают работать. Поэтому зимой при очень низких температурах (минус 30°С и более) оружие в сочленениях подвижных частей смазывается керосином (можно и дизельной соляркой, но только очень тонким слоем). Этот способ проверен на войне.
При постановке оружия на длительное хранение, после капитальной чистки его металлические части покрываются тонким слоем оружейного нейтрального масла. Толстым слоем смазывать нельзя - масло под действием собственного веса оплывает вниз, собирается в комки, металл обнажается и ржавеет. Не применяйте для консервации оружия масла случайные и не оружейные - жидкие машинные масла быстро высыхают, автомобильные жидкие моторные масла имеют в своем составе серу, густые (солидол) подсыхают и образуют пленку, под которой металл ничем не защищен. Ни в коем случае не применяйте растительные масла - они загустевают настолько, что подвижные части оружия перестают двигаться.
Официально живучесть стволов снайперских трехлинейных винтовок составляет 20 тыс. выстрелов, винтовок СВД - 25 тыс. выстрелов. Но своевременным грамотным уходом за оружием этот ресурс можно продлить вдвое. Один из приятелей автора, таежный охотник, до сих пор стреляет из трехлинейной винтовки выпуска 1912 года, из которой стреляли еще его дед и отец. При любых условиях этот таежник чистит и смазывает винтовку ежедневно. В стволе заметны признаки износа, но там нет ни разгара, ни сыпи, ни тем более раковин. Бой этого приработанного ствола на удивление кучный. На вопрос, сколько выстрелов из этого оружия произведено, охотник ответил:
"Никто не считал, но по полцинка ежегодно расстреливаем". (Один цинк вмещает 440 патронов.)
Ложа является одной из составных частей снайперской винтовки. У магазинных (трехлинейных) винтовок ложа служит для соединения всех частей и для удобства действия винтовкой при стрельбе. В соответствии с этим назначением к ложе предъявляется ряд требований, главнейшие из которых следующие:
Последнее требование наиболее актуально. Ложа не должна коробиться и трескаться при хранении и эксплуатации. Ложи чаще всего изготавливаются из березовой древесины. Лучшие ложи для очень удачных стволов изготавливаются из ореха, бука или граба. Древесина этих пород практически не коробится, не трескается и хорошо прирабатывается к металлу. В любом случае древесину для точного оружия подвергают длительному высушиванию. Чем дольше высушена древесина для ложи, тем меньше она коробится и ведет за собой ствол и ствольную коробку. Для изготовления лож и прикладов особо точного оружия древесину высушивают в темноте при естественных температурах на протяжении до 10 лет. В последнее время для производства лож все чаще стала применяться пластмасса. В конце 50-х годов для изготовления лож снайперских винтовок начали применять многослойную древесину из проклеенного березового шпона, расположенного волокнами перпендикулярно друг к другу. Такие ложи оказались наиболее практичными в изготовлении и эксплуатации. Изготавливаются вплоть до наших дней.
Для влагостойкости наружная поверхность ложи чисто обрабатывается, пропитывается сосновой смолой или 5-10%-ным раствором нефтебитума в минеральном масле (что придает поверхности коричневый цвет) и лакируется. Такая обработка древесины ложи делает ее негигроскопичной, чем ложа предохраняется от разбухания и последующей усушки. Кроме того, пропитанная смолой древесина ложи предохраняется от загнивания и от поражения насекомыми. Ложи, изготовленные из березовой древесины, в некоторых случаях (на заказ) покрываются морилкой и горячим раствором, состоящим из равных частей воска, канифоли и скипидара.
В ложе магазинной винтовки различают три части: цевье, шейку и приклад (7, 2, 3 на фото 200). В ложах боевых винтовок имеется еще и ствольная накладка (4 на фото 200). Передняя часть ложи, называемая цевьем, служит для помещения ствола со ствольной коробкой, для предохранения ствола от погибов при случайных ударах, для предохранения рук стрелка от ожогов при сильно нагретом стволе.

Фото 200. Ложа магазинной винтовки:
1 - цевье; 2 - шейка ложи; 3 - приклад; 4 - ствольная накладка; 5 - крепежные ложевые кольца; 6 - шомпол
Поперечные и продольные размеры цевья в месте его охвата левой рукой устанавливаются, исходя из соображений удобства удержания оружия, поперечные размеры остальной части цевья определяют из соображений прочности.
Подгонка ложи к ствольной коробке должна быть однообразной и равномерной, по всему размеру ствольной коробки. Неоднообразное положение ствольной коробки в специально выбранном гнезде ложи при местных несимметричных прилеганиях вызывает односторонние напряжения при выстреле и увеличивает колебания ствола, что приводит к увеличению разброса. Более того, оно изменяет их характер в непредсказуемую сторону. Тщательно подогнать ствольную коробку к ложе очень трудно. Поэтому чаще всего ствольную коробку "сажают" в гнездо ложи на две опорные точки - под патронником и под хвостовиком с люфтом между ними. У боевых магазинных винтовок нормального калибра упор ствольной коробки обязательно опирается на опорный нагель, причем опорные поверхности нагеля и выступа ствольной коробки должны контактировать по всей площади. Если импульс отдачи принимается нагелем сбоку, то это вызывает при выстреле все те же односторонние напряжения с вытекающими последствиями. Бой такой винтовки также не будет точным. Обычно после подгонки опорного выступа и нагеля друг к другу сначала затягивают до упора опорный винт, затем хвостовой, после чего хвостовой винт "отпускают" на пол-оборота назад. Это делается для того, чтобы предотвратить напряженный изгиб ствольной коробки. Лучший вариант сопряжения металлических частей винтовки с деревянными достигается в том случае, когда ствольная коробка хорошо посажена и приработана с посадочным местом ложи, а ствол будет работать как стержень с одним закрепленным концом. В спортивном и целевом оружии для этих целей на ствольной коробке делается толстая стальная рифленая "подошва" правильных прямоугольных размеров. Посадочное место ложи имеет такую же прямоугольную форму. Все это позволяет плотно посадить ствольную коробку в посадочном гнезде и плотно, до отказа, затянуть опорный и хвостовой соедини* тельные винты. При этом получается очень плотная идеальная посадка и прижатие металлических частей к деревянной ложе без люфтов и смещений. В таком случае ствол не должен касаться цевья ложи, которое имеет удлиненную форму для удобства удержания, крепления антабок и других подсобных приспособлений.
В боевых винтовках, где есть необходимость длинного цевья и ствольной накладки, эти деревянные части должны плотно охватывать ствол по всей длине (что сделать весьма непросто), или необходимо посадить ствол на два матерчатых мягких сальника в начале и в конце цевья. Между ними должен быть люфт, для чего полукруглым резцом (заточенной закраиной гильзы) выбирается слой дерева вокруг ствола примерно на 1 мм. В крайнем случае ствол сажается на один сальник, чтобы он не болтался между цевьем и накладкой. Древесина для изготовления лож для того и выдерживается несколько лет, чтобы все, что могло в ней деформироваться, "покрутиться", покоробиться, при сушке покрутилось и покоробилось. После чего ложа вырезается на станке или вручную, и больше в ней ничего уже не коробится и не перекручивается.
Ложа, которая начинает коробиться и "покручиваться" на готовом оружии, вызывает местные односторонние боковые напряжения металла, ведущие к его повышенной вибрации при выстреле. Ложа, из каких бы пород дерева она ни была изготовлена, должна быть без сучков и местных уплотнений. Сучок, упирающийся в ствольную коробку в каком-то одном месте, создает эти самые местные напряжения и заметно ухудшает бой винтовки. Сучок, выступающий из цевья и упирающийся в ствол, резко повышает разброс. Ложа, изготовленная из невыдержанной, непросушенной древесины, коробится настолько, что при длительном хранении оружия на складах сгибает винтовочные стволы. От ложи зависит очень много. Мастера старой формации отборные стволы подгоняли под ореховые или клееные шпоновые ложи и "сажали" эти стволы в ложи намертво, на эпоксидный клей. Кучность боя таких винтовок и карабинов, не имеющих внутри посадочных люфтов и смещений, улучшается.
На автоматических винтовках СВД следует следить за плотностью соединения приклада со ствольной коробкой. Ослабленный винт крепления вызывает шатание приклада и непредсказуемый разброс.
Внимание! Смазывать ложу оружейными минеральными маслами нельзя. Дерево от этого становится хрупким. Для того чтобы предохранить ложу от действия влаги, ее в сухом виде смазывают тонким слоем льняной олифы (или любой растительной олифы).
Военные и охотники-промысловики хорошо знают, что на природе всегда присутствует влага, которая берется неизвестно откуда. Отсыревает все - и обмундирование, и оружие. Чтобы сохранить снайперскую винтовку от воды, лучше всего покрыть ее слоем воска. Для этого в 4 частях горячего терпентина (или живичного натурального скипидара) растворяют 1 часть пчелиного воска. Этим раствором, который можно носить с собой в масленке, пользуясь тампоном из куска ветоши или бинта, покрывают один раз наружную поверхность металлических и деревянных частей винтовки. Терпентин довольно быстро испаряется, а тонкий слой воска остается. Воск держится на оружии довольно цепко, в отличие от масляного покрытия, и прекрасно предохраняет оружие от снега, капелек воды и т. д. (способ финских снайперов).
На кучность боя оружия и, следовательно, на меткость стрельбы влияет множество факторов. Прежде всего кучность боя ствола снайперской винтовки определяется качеством и точностью его изготовления, чистотой обработки канала ствола и плотностью посадки ствола в ствольную коробку. Шероховатость, грубость обработки канала ствола, неровность дна нарезов увеличивают рассеивание при стрельбе из винтовок на 20%. Для снайперских винтовок стволы изготавливают на отдельном, новом и неизношенном оборудовании, используя режущие инструменты особой точности изготовления. Но даже при этих условиях ствол может получиться удачным или неудачным. Большое значение имеет точность обработки опорных поверхностей ствольной коробки и соответствующих поверхностей боевых выступов затвора или боевой личинки. В случае несимметричной обработки этих плоскостей односторонняя упругая деформация может привести к увеличению рассеивания до 50%.
Некачественная (см. ранее) посадка в ложу ствола магазинной винтовки ощутимо влияет на кучность боя. Покоробленная Ложа увеличивает разброс пуль еще больше.
К увеличению рассеивания приводит неизбежный при эксплуатации износ оружия. С увеличением износа канала ствола ухудшаются его баллистические свойства - уменьшается начальная скорость и увеличивается рассеивание. "Поношенный", но обереженный и ухоженный канал ствола сохраняет кучность боя неопределенно долгое время, но ржавчина и ее глубокие следы (раковины), по данным оружейника Н. М. Филатова, могут увеличить рассеивание из винтовки и карабина на 20-30%. Кроме того, пораженный ржавчиной ствол быстрее изнашивается, что ведет к ухудшению кучности боя.
Растертость ствола вследствие неправильной чистки аналогична влиянию естественного износа.
При погибах ствола вследствие даже незначительных ударов сбоку наблюдается отклонение пуль в сторону погиба.
Влияние на меткость неисправных, изношенных и плохо закрепленных прицельных приспособлений общеизвестно. Шатания мушки, целика, прицельной планки, кронштейна оптического прицела сразу сводят меткость стрельбы на нет.
Раздутия ствола вблизи дульного среза резко увеличивают разброс даже малокалиберного оружия.
Наиболее значительное влияние на меткость оказывают увеличения зазоров механизма, которые могут привести к угловым колебаниям ствола. Колебания ствола при выстреле возникают вследствие различных толчков и ударов внутри самого оружия, как-то: при ударе бойка по капсюлю, при почти мгновенном нарастании давления пороховых газов, при врезании пули в нарезы, при ударах деталей подвижной системы и частей оружия друг о друга. Эти колебания накладываются друг на друга и при совпадении в резонанс, что бывает довольно часто, оказывают существенное влияние на кучность боя оружия. Чем больше в оружии люфтов, выработок и зазоров, тем больше детали оружия будут болтаться и стучать друг о друга, соответственно, тем больше будет колебаний, вызывающих разброс пуль при стрельбе.
Даже незначительные оржавления рабочих поверхностей увеличивают эти люфты и выработки. Поэтому нередко и при хороших стволах разболтанные вследствие неухоженности механизмы оружия (особенно автоматического) вызывают заметное снижение кучности боя. И наоборот, ухоженные механизмы, вовремя вычищенные и смазанные, поддерживают высокую точность боя оружия при изношенных, но ухоженных и сохраненных стволах.
При выборе снайперского оружия следует помнить, что кучность боя всегда будет лучше у неавтоматических магазинных винтовок, чем у автоматических. Это объясняется тем, что у неавтоматического оружия нет подвижных частей, обеспечивающих работу автоматики, и, соответственно, нет и люфтов между этими частями, вызывающих излишние вибрации оружия при стрельбе.
При сборках снайперских магазинных винтовок особенно важно правильное и однообразное завинчивание винтов упора и хвостового винта ствольной коробки. Слабое завинчивание этих винтов значительно увеличивает рассеивание выстрелов, почти не изменяя средней точки попадания. Кроме того, не прижатый к ложе ствол получает возможность двигаться вдоль цевья, вследствие чего случаются сдвиги дерева сзади гнезда упора и расколы ложи за упором. Поэтому слабое завинчивание этих стягивающих крепежных винтов недопустимо. Сильное же перетягивание этих винтов может привести к изгибу магазинной и ствольной коробки. При этом бой винтовки изменяется непредсказуемо.
Из всего вышеизложенного толковый стрелок сделает вывод: оружие надо беречь и постоянно ухаживать за ним. Найти и приобрести удачно изготовленный ствол точного, а тем паче особо точного боя непросто и нелегко. Обычно стволы такого качества попадаются один из десяти. Со временем, после на-стрела нескольких сотен выстрелов, поверхность канала ствола прирабатывается и кучность боя заметно улучшается. Хороший, отборный, пристрелянный и сбереженный ствол трудно переоценить. Артиллеристы говорят: "Одно сбереженное орудие стоит двух новых". Снайперы по этому поводу имеют аналогичное мнение: одна отборная, пристрелянная и сбереженная винтовка стоит десяти находящихся в пирамиде.
Отбор оружия по кучности боя производится только практическим отстрелом оружия. При этом стрельба ведется с мягкого упора на дистанции не менее 100 м для стволов нормального калибра и не менее 50 м для малокалиберного. Разброс для стволов нормальных калибров на такой дистанции не должен превышать 8х8 см, но в реальности нередко выявляют стволы с кучностью боя 5х4 см. Такие случаи происходят довольно часто. В практике автора был случай, когда неожиданно для служивых серийная винтовка СВУ (снайперская винтовка укороченная) показала кучность 4х3 см. Кучность боя трехлинейных винтовок без штыка с одними сальниками, намотанными на ствол дульной части, иногда при отборе оружия выявлялась в размере 3х2 см, а иногда и вообще пуля в пулю. Однако следует учесть, что хороший ствол, оказавшийся на плохо изготовленной ложе, может показать отвратительную кучность. Поэтому стоит пробовать разные стволы на разных ложах.
Кучность боя малокалиберных стволов колеблется в широких пределах в зависимости от системы. У охотничьих моделей он может быть от 10х12 до 3х3 см. У винтовок "Биатлон", различных моделей разброс обычно от 3х2 до 2х1,5 см. Поэтому в операциях по обезвреживанию террористов (особенно при необходимости взять противника живым) желательно использование винтовок "Биатлон-4", "Биатлон-6", "Биатлон-7", обладающих более кучным, стабильным и сильным боем по сравнению с обычными охотничьими образцами.
При обыкновенном визуальном осмотре канала ствола при его отборе можно обнаружить массу дефектов. На основании результатов осмотра делаются выводы, стоит ли отстреливать ствол на кучность.
Канал ствола можно просматривать с казенной части и с дульной части, направив противоположный канал ствола на источник света. При осмотре ствола с дульной части в ствольную коробку вкладывается белая бумажка, стволу придают такое положение, чтобы свет отражался от бумаги и освещал канал ствола. Патронник осматривается с казенной части.
В канале ствола можно наблюдать следующие ненормальные явления.
В нехромированных стволах наблюдается мельхиоризация в виде наслоений или бугорков на поверхности канала. Это происходит при стрельбе пулей с мельхиоровой оболочкой. В таких же стволах наблюдается омеднение, появляющееся при стрельбе пулями, плакированными томпаком. Омеднение проявляется в виде налета желто-красного цвета. Мельхиоризация и омеднение наблюдаются при стрельбе из новых неприработанных стволов и исчезают после чистки латунным ершиком, смоченным маслом. Дефектом ствола не считаются.
Матовая поверхность канала ствола характеризуется местным потемнением канала, но это не является ржавчиной и дефектом не считается.
Кольцевое потемнение может быть по всей окружности канала ствола или части ее, но это в хромированных стволах не является раздутием и не считается недостатком.
Темные кольца в канале ствола получаются в результате сжатия ствола в местах посадки на ствол деталей (прицельной колодки, газовой камеры, упорного кольца цевья ложи, трубки ствола и т. д.), дефектами не считаются и во внимание не принимаются.
Спиральные полоски на хромированной поверхности являются результатом механической обработки канала ствола (следы инструмента). До хромирования следы инструмента незаметны; после хромирования следы инструмента выступают более рельефно в виде спиральных полосок.
Сероватый оттенок, черные точки, перерезы полей, кольца вызваны особенностями технологического процесса хромирования; недостатками не считаются.
Раздутие определяется наличием на поверхности канала ствола теневого поперечного кольца, хорошо видимого с того конца ствола, к которому оно ближе расположено. Наличие раздутия подтверждается прогоном по стволу шомпола с туго намотанной на протирку ветошью. В месте раздутия даже неопытный стрелок сразу почувствует слабину. Так определяется раздутие даже у малокалиберного оружия. При незначительном кольцевом раздутии и сохранении кучности боя малокалиберные винтовки допускаются к дальнейшей эксплуатации. При раздутии боевых винтовок на расстоянии от дульного среза не более 45 мм дульную часть рассверливают на диаметр 9+0.2 мм с выбиранием металла в районе раздутия. При раздутии глубже 45 мм винтовка бракуется.
Сетка разгара наблюдается в виде пересекающихся полосок или тонких линий на поверхности хромированных стволов, как правило с казенной части. Эти полоски и линии появляются в процессе стрельбы. С увеличением количества выстрелов в полосках образуются трещины и начинается выкрашивание хрома сначала в виде точек, затем выкрошенность увеличивается и переходит в сколы хрома.
Скол хрома представляет собой наиболее ярко выраженный разгар хромового покрытия канала ствола в казенной части и является следствием увеличения разгара. Сетка разгара и скол хрома являются неизбежными в хромированных стволах, и они не могут считаться недостатком канала ствола, так как с их появлением ствол еще сохраняет хорошую кучность боя. Стволы с сеткой разгара требуют более тщательной чистки. При недостаточной чистке в местах скола хрома может появиться ржавчина, влекущая за собой выкрашивание слоя хрома.
Сыпь - первичное поражение канала ствола в виде точек и мелких крапин.
Царапины - следствие попадания в ствол песчинок и частиц грязи - проявляются в виде черточек, иногда с заметным подъемом металла по краям. Сыпь и царапины могут не оказывать влияния на кучность боя. Это проверяется отстрелом ствола.
Раковины - значительные углубления в металле на поверхности канала ствола, образовавшиеся в результате прогрессирующего разгара ствола и небрежного ухода за оружием. Раковины образуются от длительного оржавления ствола в местах скола хрома. Ржавчина удаляется из канала ствола обезвоженным керосином или уайт-спиритом латунным ершиком. Ржавый с раковинами ствол в снайперском оружии непригоден и бракуется сразу же после осмотра. Ржавые стволы никогда не дают точного и кучного боя.
Стертость полей нарезов или округление полей нарезов особенно заметны на левой ведущей боевой грани. Если канал ствола ухожен и без следов ржавчины, такой ствол допускается к отстрелу на кучность. Очень часто приработанные стволы имеют кучность боя лучше, чем новые.
Овальная растертость патронника иногда видна в виде темной полоски в нижней части патронника со стороны магазина. Образуется от растирания шомполом и при стрельбе загрязненными патронами. Может вызвать раздутие и продольный разрыв гильзы. При контрольном отстреле, если на гильзе заметно продольное раздутие, винтовка бракуется. На малокалиберных винтовках этот дефект сразу виден при наружном осмотре и часто является причиной невыброса гильзы.
При наличии в патроннике раковин, следов ржавчины и сколов хрома (у хромированных стволов), вызывающих тугое извлечение гильзы, оружие бракуется и ремонту не подлежит.
Наружным осмотром ствола можно выявить следующие дефекты:
При наружном осмотре обращается внимание на прочное закрепление на стволе основания мушки, газовой камеры, прицельной колодки, упорного кольца цевья ложи. Все эти детали должны быть прочно закреплены на стволе и не иметь качки. Предохранитель мушки не должен перемещаться в основании от усилия руки. Мушка не должна иметь изгиба и сорванной резьбы. Она должна быть перпендикулярна к оси канала ствола и туго ввинчиваться в отверстие предохранителя (только ключом).
Изгиб ствола у винтовок и автоматов - явление довольно частое. Собственно, речь идет о непрямолинейном канале ствола. Такая непрямолинейность возникает не только при деформациях готового ствола, но даже в процессе его изготовления. Изгибы стволов встречаются и на боевом оружии, и на малокалиберных винтовках. Явление это нежелательное, ибо при незначительном пологом изгибе ствола ухудшается кучность боя, а при значительном ствол может разорвать.
Изгиб ствола определяется осмотром очертаний теней в канале ствола с казенной и дульной частей.
Для этого надо тщательно прочистить и протереть канал ствола, поместить ствол на деревянную подставку, направить его одним концом (например, дульным) на источник рассеянного света (окно) и осмотреть. При этом глаз осматривающего должен быть расположен на расстоянии 5-7 см от другого конца ствола (схема 149). При осмотре постепенно поднимать обращенный к источнику света конец ствола до тех пор, пока в канале ствола не станет видной тень переплета оконной рамы. Поворачивая ствол вокруг оси, выявить очертания тени. Для исследования другой половины ствола повернуть его к источнику света другим концом (казенной частью). Если ствол не изогнут, то при его вращении вокруг оси на 360° тень в канале ствола должна быть похожа на форму равнобедренного треугольника с основанием, обращенным к осматривающему (А на схеме 150).

Схема 149. Осмотр канала ствола


Схема 150. Теневые треугольники в канале ствола:
А-в прямом стволе; Б-в изогнутом стволе
Очертание теневого треугольника не должно изменяться при вращении ствола в процессе просмотра; теневой треугольник характеризует только ту часть ствола, на которой он виден, то есть половину ствола, поэтому ствол должен быть просмотрен с обоих концов. В изогнутом стволе стороны теневого треугольника искривлены, и кривизна их изменяется по мере вращения ствола вокруг его оси. Если ствол серединой изогнут вниз, то стороны треугольника выгнуты наружу {Б на схеме 150). Если ствол изогнут вправо или влево, то стороны треугольника вогнуты в сторону, противоположную изгибу (прогибу) ствола. При сложном множественном изгибе теневой треугольник прерывист и части его сдвинуты относительно друг друга. Наглядно это представлено на схеме 151.
![]() Расположение тени в непогнутом гладком стволе |
![]() Расположение тени в непогнутом нарезном стволе |
![]() Стрела изгиба направлена вниз |
![]() Стрела изгиба направлена вверх |
![]() Стрела изгиба направлена влево |
![]() Стрела изгиба направлена вправо |
| Расположение тени в канале ствола с пологим изгибом на одной четверти его длины от дульного среза | |
![]() Стрела изгиба направлена вниз |
![]() Стрела изгиба направлена вверх |
| Расположение тени в канале ствола при пологом изгибе ствола посередине | |
Схема 151
Искаженные тени в канале ствола всегда свидетельствуют о наличии в нем изгиба. Винтовки, стволы которых имеют пологий изгиб, допускаются к дальнейшей службе, если они удовлетворяют нормальному бою. Стволы с пологим изгибом, не удовлетворяющие нормальному бою, подлежат выправлению. Если выправить ствол не представляется возможным или же в процессе выправления ствол получился "перекованным" с перегибом в обратную сторону и с вмятинами, винтовка бракуется.
ПРИМЕЧАНИЕ. При определении изгиба ствола по теням кольцевое темное пятно в канале ствола под основанием мушки трехлинейной винтовки получается в результате протяжки на заводах основного производства и во внимание не принимается.
Для правки изогнутого ствола:
ВНИМАНИЕ! Правкой выправляются, казалось бы, безнадежные стволы; более того, этим стволам возвращается кучный и стабильный бой. Но правка ствола - очень трудный, аккуратный и ответственный процесс, и она может быть выполнена только опытным оружейником.

Схема 152. Наковальня для правки ствола:
1 - подставка; 2 - наковальня; 3 - опора
Этой операцией восстанавливается кучность боя ствола. Суть заключается в том, что сверлом выбирается раструб или раздутие и восстанавливается четкий дульный перепад. Для рассверловки необходимо:

Схема 153. Обработка дульной части канала ствола:
а - винтовки; б - карабина
Обычно рассверловка дульной части канала ствола снайперской винтовки не производится. Но в подавляющем большинстве случаев рассверловка восстанавливает кучность боя ствола. Снайперскую винтовку после такой операции следует, разумеется, заново пристрелять. На фронте мужики обнаружили одну полезную особенность рассверловки: если по бокам той части, откуда рассверлен раструб, насверлить 30-40 отверстий диаметром 2-3 мм, то такая рассверленная часть начинает работать как эффективный пламегаситель. При этом уменьшается газовый выхлоп вперед и меньше поднимается пыли, снега и т. д. перед стрелком и этим меньше демаскируется позиция.
Для выявления этих неисправностей необходимо тщательно протереть канал ствола, осмотреть его и обмерить войсковым калибром К-2.
(I) Скругление или скрошенность углов полей нарезов, а также износ канала ствола по полям (калибр К-2 входит в канал ствола с дульной части) допускаются, если винтовка удовлетворяет требованиям нормального боя.
При вхождении калибра К-2 в канал ствола (как с рассверленной, так и нерассверленной дульной частью) с дульной части на длину более 45 мм от дульного среза винтовку, не удовлетворяющую вследствие этого требованиям нормальною боя, браковать.
При вхождении калибра К-2 в нерассверленный канал ствола с дульной части на длину до 45 мм винтовку, не удовлетворяющую вследствие этого требованиям нормального боя, отправить в вышестоящий ремонтный орган.
(II) Скругление или скрошенность углов полей нарезов, а также износ канала ствола по полям (калибр К-2 входит в канал ствола с дульной части на длину не более 10 мм, а в канал ствола с рассверленной дульной частью на длину не более 51 мм от дульного среза) допускаются, если винтовка при этом удовлетворяет требованиям нормального боя.
При вхождении калибра К-2 в канал ствола с дульной части на длину от 10 до 45 мм у винтовки, удовлетворяющей требованиям нормального боя, а также при вхождении калибра К-2 в канал ствола до 45 мм у винтовки, не удовлетворяющей вследствие этого требованиям нормального боя, рассверлить дульную часть канала ствола (см. ранее).
В настоящее время армейское оружие для предохранения от оржавления и для придания ему красивого внешнего вида покрывается специальным красящим составом. Оружие прежних лет выпуска и современные пистолеты для этих целей покрывались тонкой оксидной пленкой. Оксидной пленкой покрываются образцы особо точного снайперского оружия и охотничьи карабины. Ниже приводятся способы воронения (оксидирования), наиболее часто применяемые в оружейной практике со времен Первой мировой войны.
Для воронения этим способом берутся техническая соляная кислота и азотная кислота в одинаковых объемах, смешиваются и в этой смеси растворяются железная кузнечная окалина и железные (стальные) стружки в одинаковых количествах до тех пор, пока они не перестанут растворяться. Полученную жидкость наносят на необходимую деталь или ствол несколькими слоями с обязательной просушкой после нанесения каждого слоя.
Этот процесс очень долгий и может продлиться несколько суток. Но получаемое покрытие имеет очень красивый темно-коричневый цвет и предохраняет оружие от ржавчины, как никакое другое. Оружие, покрытое "ржавым" лаком, может пролежать неделю в воде без признаков оржавления.
Детали оружия опускают в расплавленную кипящую селитру (калийную или натриевую) и выдерживают там до придания металлу очень красивого темно-синего цвета. Прилипшую селитру затем смывают горячей водой. Оксидная пленка держится очень долго. Так воронили револьверы-наган и "Смит-Вессон" на тульских заводах еще сто лет назад и сохранившиеся образцы этого оружия до сих пор не потеряли внешнего вида.
Деталь опускают в насыщенный раствор медного купороса, предварительно добавив в него по каплям 5-6 капель серной кислоты. Деталь выдерживается до цвета красной меди. Затем ее прополаскивают в горячей воде и опускают на 20-30 секунд в профильтрованный насыщенный раствор гипосульфита. После чего деталь выдерживается в растворе калийных квасцов 1:10 на протяжении 10-12 часов, затем ее промывают, сушат и смазывают олифой. Покрытие получается цвета черной пластмассы и держится очень долго.
Деталь кипятят при температуре 125-130° на протяжении 40-90 минут в растворе 700 г каустической соды, 100 г нитрата натрия, 100 г буры и 1 л воды, затем промывают и покрывают олифой.
Воронение (огневое оксидирование) второстепенных деталей (кроме стволов, затворов и ствольных коробок) производится нагревом деталей на огне до цветов побежалости (но не передержать!) с последующим опусканием их в любое минеральное масло. Или в металлическом ящике засыпают деталь древесным толченым углем и нагревают на огне.
ВНИМАНИЕ: перед любым видом оксидирования детали обезжирить в 10%-ном растворе соды или поташа.
Стволы при жидкостном оксидировании плотно закрывать пробками со стороны патронника и дульного среза.
Для предохранения металлических деталей винтовки и карабина от ржавления поверхность деталей оксидируется.
Для получения качественного оксидного покрытия рекомендуется выполнять операции в такой последовательности:
а) Обезжиривание
1. Детали обезжиривать в ванне, содержащей раствор следующего состава:
Кальцинированная или каустическая сода............ 100 г
Вода.................................................................................... 1 л
2. Детали обезжиривать при бурном кипении раствора в течение 20-30 минут.
3. Освежать (корректировать) раствор нужно по мере его израсходования путем добавления составных частей до первоначальной концентрации. Плавающие на поверхности обезжиривающего раствора жировые загрязнения должны время от времени удаляться.
б) Промывка в воде
После обезжиривания детали промыть в водопроводной проточной воде (при комнатной температуре) 3-4-кратным погружением.
Хорошо обезжиренная деталь должна полностью смачиваться водой. Если вода при промывке покрывает поверхность детали не полностью, а собирается каплями, это указывает на недостаточное обезжиривание.
в) Травление
При наличии ржавчины на поверхности деталей, а также при повторном оксидировании их с целью удаления первоначальной оксидной пленки травление деталей производить по инструкции (приложение 5).
г) Промывка в воде
После травления детали промыть в холодной проточной воде 3-4-кратным погружением.
ПРИМЕЧАНИЕ. После травления и промывки во избежание ржавления не разрешается, чтобы детали находились на воздухе свыше 10 секунд. При вынужденной задержке детали необходимо опускать на 5 минут в мыльный раствор, после чего вынуть и высушить; образовавшаяся мыльная пленка предохраняет детали от ржавления.
Общие замечания по операциям подготовки поверхности
1. При наличии на поверхности деталей толстого слоя смазки или жира перед обезжириванием полностью удалить их, протирая сухими тряпками; после чего детали отправить для обезжиривания.
2. Пружины винтовки и карабина травлению не подвергать, а чистить наждачным полотном или крацевальной щеткой.
а) Оксидирование
1. Детали оксидировать в ванне, содержащей раствор следующего состава:
Каустическая сода.........….................................... 700 г
Нитрат натрия...............…...................................... 100 г
Нитрит натрия.....…................................................ 100 г
Вода........................................................................... 1 л
ПРИМЕЧАНИЕ. В качестве окислителей одинаково применимы нитрат и нитрит натрия или калия в сумме, не превышающей 200 г как в указанной смеси, так и в отдельности.
2. Приготовлять раствор нужно в специальном подогреваемом баке, предварительно хорошо очищенном от грязи и тщательно промытом водой.
Предварительно раздробленную на мелкие куски (размером 40-50 мм в поперечнике) каустическую соду загружают в бак, заливают водой и кипятят до растворения Затем вводят нитрат и нитрит натрия. После растворения компонентов оксидирующего состава раствор оставляется в полном покое на 2-4 часа. Этим приготовление раствора для оксидирования заканчивается.
Перед оксидированием деталей раствор подогревается до бурного кипения.
3. Детали, подготовленные к оксидированию, погружать в бурно кипящий раствор в сетчатых железных корзинах.
4. Начальная температура раствора (при погружении деталей в ванну) 136-138°С, конечная (в конце оксидирования) - 142-145°С. Для закаленных деталей температура ванны при погружении 140°С с постепенным повышением ее к концу оксидирования до 145-146°С.
ПРИМЕЧАНИЯ. 1. Признаком изменения концентрации раствора при постоянном объеме служит температура кипения. Понижение температуры кипения с сохранением объема свидетельствует об уменьшении концентрации, а повышение температуры кипения - об увеличении концентрации. Нарушение режима ванны ведет к понижению качества окраски. 2. Чтобы повысить температуру кипения раствора на 1°С, следует добавить 10 г едкого натра на каждый литр раствора. Понижение температуры кипения раствора достигается разбавлением его водопроводной водой или водой после ополаскивания (см. ниже - примечание).
5. Детали выдерживать в растворе в процессе оксидирования 1,5 часа.
б) Ополаскивание
Во время оксидирования детали через каждые 25-30 минут вынимать из оксидирующего раствора и ополаскивать в водопроводной воде при комнатной температуре, опуская их в воду 2-3 раза.
ПРИМЕЧАНИЕ. Вода после ополаскивания может быть использована для пополнения оксидировочной ванны.
в) Промывка водой
После оксидирования детали промыть водопроводной водой (желательно под давлением из брандспойта) до полного удаления остатков оксидирующего раствора с поверхности деталей.
Общие замечания по операциям оксидирования
1. При погружении деталей в оксидирующий раствор вся поверхность их должна полностью омываться раствором
2. Появление на поверхности оксидируемых деталей налета зеленого или желтого цвета указывает на повышенную температуру оксидирующего раствора (или повышенную концентрацию каустической соды), для понижения которой в ванну необходимо добавить воды.
3. По мере пользования раствором в ванне для оксидирования происходит накапливание осадка гидрата окиси железа. Осадок периодически удалять специальными скребками при температуре раствора несколько ниже точки кипения.
а) Выдержка в мыльном растворе
1. После оксидирования детали погружать в кипящий мыльный раствор следующего состава:
Мыло твердое............................................................ 30 г
Вода.............................................................................. 1 л
ПРИМЕЧАНИЯ: 1. Во избежание свертывания мыла мыльный раствор следует готовить на предварительно прокипяченной воде. 2. При свертывании мыла раствор выливают и заменяют свежим. 3. Время выдержки деталей в горячем мыльном растворе 3- 5 минут.
б) Сушка
Вынутые из мыльного раствора детали просушивать на воздухе до полного удаления влаш с поверхностей.
в) Промасливание
1. Просушенные детали помещают в ванну, содержащую веретенное масло или ружейную смазку.
2. Температура смазки в ванне 105-115°С; выдержка в ванне 2-3 минуты.
ПРИМЕЧАНИЕ. Применять холодную смазку не рекомендуется. Горячие смазанные детали помещать на специальные столы для отекания излишка масла и по охлаждении их нужно протирать от избытка масла и от красноватого налета. После этого детали направить на контроль качества оксидного покрытия.
Контроль качества оксидного покрытия
Качество оксидного покрытия устанавливается внешним осмотром поверхности оксидированных деталей. Поверхность деталей после оксидирования должна иметь ровную окраску черного цвета.
Для деталей с грубо обработанной поверхностью, а также для участков, подвергнутых местной сварке или штамповке, допускается слабая разница в оттенках цвета.
На поверхности оксидированных деталей не должно быть красноватого осадка и незаоксидированных участков. Детали с красным налетом возвращать на протирку, а детали с незаоксидированными участками подвергать повторному оксидированию, для чего после обезжиривания и промывки водой обработать при комнатной температуре в ингибированной соляной кислоте по инструкции (приложение 5) до растворения оксидной пленки. Затем детали снова тщательно промыть водой и дальше обработать, как детали, вновь поступившие на оксидирование.
В случае ржавления деталей в самой ванне необходимо очистить ванну и обновить раствор.
Техника безопасности
Брызги щелочного раствора разъедают ткань одежды и при попадании на тело вызывают ожоги, поэтому лица, занятые щелочным оксидированием, должны во время работы надевать брезентовую спецодежду, резиновые сапоги и резиновые перчатки.
По окончании работы полы в помещении для оксидировки должны быть тщательно промыты водой, а все ванны во избежание загрязнения должны быть накрыты крышками.
А. Общие сведения
1. Очистка стальных деталей от ржавчины должна производиться в ингибированной соляной кислоте, представляющей смесь соляной кислоты (уд. вес 1,18) с ингибитором марки ПБ-5 (0,8-1% по отношению к объему соляной кислоты). Неингибированную кислоту применять запрещается.
Ингибированная соляная кислота хорошо очищает стальные детали от ржавчины, практически не растворяет металл.
2. Ингибированная соляная кислота отгружается потребителям с заводов Министерства химической промышленности в обычных железнодорожных цистернах или в бутылях.
3. Очистка стальных деталей от ржавчины состоит из следующих основных операций: подготовки деталей к очистке, травления в кислоте, промывки с пассивированием, протирки, сушки и смазки.
Б. Подготовка деталей к очистке
4. Обезжирить детали в ванне, содержащей раствор следующего состава:
Кальцинированная или каустическая сода..............100 г
Вода.....................................................................................1 л
или
Мыло твердое................................................................... 30 г
Вода.....................................................................................1 л
Обезжиривание ведется при кипении раствора.
5. Промыть детали в холодной проточной воде и охладить до комнатной температуры (18-20°С). Хорошо обезжиренная деталь должна полностью смачиваться водой. Если вода при промывке покрывает поверхность детали не полностью, а собирается каплями, то это указывает на недостаточное обезжиривание.
ПРИМЕЧАНИЕ. При наличии на поверхности деталей толстого слоя смазки перед обезжириванием, необходимо ее удалить сухой ветошью.
В. Травление
6. Вытравить детали в эмалированных, деревянных или в сварных железных ваннах, содержащих раствор следующего состава:
| Номер ванны |
Для каких деталей применяется | Состав травильной ванны, л | |
| вода | ингибированная соляная кислота |
||
| 1 | Сильно пораженных ржавчиной и не имеющих полированных поверхностей | - | 100 |
| 2 | Не сильно пораженных ржавчиной и имеющих полированные поверхности | 50 | 50 |
| 3 | Не сильно пораженных ржавчиной с полировкой высокого качества, при требовании очень строгого сохранения их размеров и полировки |
80 | 20 |
7. Для приготовления раствора в отмеренное количество воды влить ингибированную соляную кислоту; воду в кислоту лить нельзя, так как это может привести к разбрызгиванию кислоты и к сильным ожогам.
8. Температура травильного раствора и погруженных в него деталей должна быть в пределах 10-30°С.
Время выдержки деталей в травильной ванне устанавливается опытным путем; в зависимости от состава ванны, степени поражения ржавчиной поверхности очищаемых деталей и состава металла время выдержки может колебаться от 20 минут до 3 часов.
По истечении установленного времени травления вынуть детали из травильного раствора и тщательно промыть в ванне с холодной проточной водой, после чего отправить детали на промывку в растворе пассиваторов или на ремонт и оксидирование.
9. При травлении сильно поржавевших деталей следует растворять только часть ржавчины, так как оставшаяся ржавчина от действия кислоты сильно разрыхляется и может быть снята щеткой и смыта водой.
10. Удалять ржавчину из каналов стволов при хорошем состоянии оксидировки наружных поверхностей нужно путем заливки травильного раствора в канал ствола, при этом ствол устанавливают в наклонное положение и нижний конец его закрывают пробкой.
11. Травильный раствор действует (приблизительно) в течение 20 закладок деталей при средней продолжительности очистки, после чего раствор сильно загрязняется и его необходимо заменить.
12. Персонал, обслуживающий травильные ванны, должен иметь резиновые перчатки, фартук и очки.
Внимание! При травлении стволов с хромированными каналами необходимо предохранить канал ствола от попадания в него ингибированной соляной кислоты, так как она разъедает хром. Для этого канал ствола до обезжиривания слегка смазывать пушечной смазкой и прочно закупоривать с обоих концов резиновыми или деревянными пробками.
Г. Промывка в растворе пассиваторов
13. Неоксидируемые детали с целью образования на их поверхности пленки, отчасти предохраняющей от ржавления, после травления и промывки погрузить в железную ванну, содержащую раствор следующего состава:
Двухромовокислый калий (хромпик калиевый)....... 20 г
Каустическая сода ...................................................... 50 г
Вода............................................................................... 1 л
Азотистокислый натрий - нитрит натрия .............. 30 г
Вода....................................................................... 1 л
14. Промывать детали в кипящем растворе. Время выдержки деталей в ванне 10-15 минут.
Д. Протирка и смазка
15. После промывки в растворе пассиваторов тщательно протереть детали насухо или просушить, а затем (если они не идут непосредственно на ремонт) погрузить на 2-3 минуты в ванну с ружейной смазкой, нагретой до температуры 105-115°С.
Качество ложи оказывает на точность стрельбы колоссальное значение. Тщательно подогнанное и приработанное к металлическим частям ложа в значительной мере обеспечивает оружию кучный и стабильный бой. Кроме того, ложа - это главное украшение винтовки, подчас настоящее произведение искусства, которое производит впечатление не только на знатоков. До сих пор не разгадан феномен воздействия дизайна оружия на психику стрелка. Удобно сконструированная и удачно оформленная ложа непонятным образом придает снайперу ощущение уверенного превосходства, но тяжелые условия работы снайперской винтовки зависят не только от выстрела. Мороз, жара, снег, влага, резкие перепады температур, ударные нагрузки, неизбежные в боевом применении, понемногу портят самую прочную древесину. В ложе появляются трещины, выбоины, выжженные места, отколы древесины и самые разные непредсказуемые дефекты. Рано или поздно возникает вопрос о замене отдельных деревянных частей или ложи в целом. Но не стоит с этим спешить. За долгое время работы старая ложа прирабатывается к металлическим частям настолько плотно и естественно, что новая ложа навряд ли обеспечит такую естественную посадку ствола на ней. Это именно тот случай, когда старый друг лучше новых двух. С новой ложей даже очень хороший ствол может потерять кучность. Кроме того, новая ложа в наше время стоит недешево, а отремонтировать старую можно и своими руками.
Наиболее частым дефектом ложи является появление трещин. Для устранения дефекта в трещину заливают эпоксидный клей на всю глубину трещины. Если откололась мелкая деталь или мелкий фрагмент, его после склеивания прижимают струбциной к основной массе ложи и выдерживают в таком состоянии сутки до полного застывания эпоксидного клея. Если произошел раскол в крупной части - шейке, цевье, прикладе, - склеиваемые эпоксидным клеем части стягивают одним или двумя длинными тонкими шурупами. Предварительно высверливают каналы для постановки шурупов, которые по диаметру равны толщине шурупа без резьбы. Это делается во избежание напряжений в древесине. Нельзя вкручивать шуруп, не просверлив предварительно для него канал. Этим можно вызвать появление новых трещин. Перед вкручиванием шурупы смазываются эпоксидным клеем. Шурупы вкручиваются заподлицо с поверхностью древесины.
Отремонтированная вышеописанным способом часть ложи получается крепче, чем она была до поломки.
Если в ложе образовались выбитые, выщербленные, отколотые или выжженные места, то такие дефекты заполняются постановкой вклеек. Как это делается, представлено на схемах 154-156. Эти схемы и пояснения к ним позволяют представить картину ремонта цевья, приклада, и остальных частей ложи.
Для ремонтных вклеек берется древесина одинаковой породы и фактуры, волокна вклейки располагаются обязательно вдоль волокон ложи. Вклейки изготавливаются очень тщательно, не спеша, по принципу "семь раз отмерь, один раз отрежь". Вклейка должна очень плотно, без зазоров, помещаться в аккуратно разделанный для ее постановки паз. Место постановки вклейки визуально не должно отличаться от остальной фактуры ложи. Следует учесть, что клееная древесина всегда прочнее неклееной.
Для склеивания применяется обычный бытовой эпоксидный клей (эпоксидная смола). Прочность склеивания при этом необычайно высока. После того как ложа с проклеенным дефектом выдержана 24 часа (время, необходимое для полноценного застывания эпоксидного клея), выступающие части вклейки обрабатывают заподлицо с ложей.
Но это еще не все. Отремонтированной таким образом ложе нужно придать красивый внешний вид. Наверняка такая ложа, бывшая в длительном употреблении, ободрана, поцарапана и смотрится непрезентабельно.
Сначала ложу обдирают наждачной бумагой средней зернистости, при этом зашлифовывают царапины и снимают остатки старого лака. Затем ложу шлифуют мелкой наждачной бумагой, а затем самой мелкой, так называемой "микронкой". После окончания такой сухой шлифовки поверхность ложи смачивают водой, вытирают, высушивают и снова шлифуют "микронной" наждачной бумагой. Почему так делается? Потому что увлажнение "поднимает" мелкие заусенцы дерева, которые после высушивания остаются в "ершистом", вздыбленном состоянии, и в таком состоянии они снимаются мелкой наждачной бумагой. Иногда в зависимости от фактуры древесины такую операцию приходится повторять 2-3 раза.
После шлифовки ложи ее покрывают морилкой. В зависимости от того, какого оттенка и густоты хотят добиться, покрытие древесины морилкой повторяют после полного высыхания ложи. Таким образом придают желаемую окраску ложам, изготовленным из светлой древесины - березы.
Ложи, изготовленные из ореха, бука, граба, морилкой обычно не обрабатываются. Фактура древесины ореха сама по себе достаточно красива, благородна и в окраске не нуждается.
ВНИМАНИЕ! Внутренние поверхности ложи, сопряженные и контактирующие с металлическими частями - стволом и ствольной коробкой, - не шлифуются и морилкой не обрабатываются!

1. Разделка паза для вклейки

2. Заготовка вклейки

3. Постановка вклейки

4. Обработка вклейки

5. Разделка паза для вклейки

6. Заготовка вклейки

7. Постановка вклейки

8. Обработка вклейки
Схема 154. Ремонт цевья

1. Постановка вклейки

2. Обработка вклейки

3. Разделка паза для вклепки

4. Заготовка вклейки

5. Постановка вклейки

6. Обработка вклейки
Схема 155. Ремонт цевья

1. Разделка паза для вклейки

2. Заготовка вклейки

3. Постановка вклейки

4. Обработка вклейки

5. Разделка паза для вклейки

6. Заготовка вклейки
Схема 156. Ремонт приклада
Для придания ложи влагостойкости и приятного внешнего вида ее покрывают так называемым восковым лаком. Такой лак изготавливается из равных весовых частей воска пчелиного, скипидара живичного (натурального) и канифоли (обыкновенной). Подогретый до горячего состояния состав щеткой или кистью наносится на сухую и разогретую до очень теплого (на ощупь) состояния ложу. После того как лак впитался в древесину, покрытие повторяют. Ложу покрывают до тех пор, пока лак не прекращает впитываться. После чего ложу полируют суконкой.
ВНИМАНИЕ! Внутреннюю поверхность ложи, контактирующую с металлом, покрывают восковым лаком только один раз по тщательно протертым и обезжиренным местам!
Ложа, отреставрированная вышеописанным способом, выглядит едва ли не лучше, чем новая.
Способу покрытия лож и деревянных частей оружия восковым лаком несколько сотен лет. Посмотрите в музеях на старое оружие - оно имеет именно такое восковое покрытие. Обратите внимание, как прекрасно сохранились деревянные части, как незаметны на них царапины и вмятины, хотя они и обнаруживаются при более детальном рассмотрении. Это происходит потому, что воск глубоко проникает в толщу древесины и в значительной мере способствует маскировке ее дефектов.
Используя способы, приведенные в настоящем пособии, вы сможете самостоятельно и своими руками отреставрировать карабин или винтовку, вернуть оружию точность боя и красивый внешний вид.
Разумеется, есть и более совершенные, но более сложные способы реставрации, но они требуют специальных условий, специального оборудования и высокой квалификации мастеров-оружейников.